This month’s episode of ‘The Drive Thru,’ GTM’s automotive news recap, features a variety of topics. It opens with a message of appreciation for sponsors and a special announcement about the end of Season 2, wrapping up with 56 episodes. The hosts dive into discussions on the continuing availability of manual transmission cars in 2022, surprising models that still offer it, and how brands like BMW and Ford are catering to car enthusiasts. There’s also a lively debate on boring vehicle designs and various manufacturer news, including the phasing out of the Chevy Spark and Volkswagen Passat, the revealing of the latest Mustang GT3 for upcoming IMSA races, and Ford’s Maverick pickup. The episode also covers electric vehicles, with a focus on the Hyundai Ioniq 5 and a notable Defender EV conversion. The segment shares insights into Formula One and Rolex 24 updates, the continued debate on balance of power in motorsports, and GTM’s memorable events and collaborations in Season 2. This episode ends season two on a high, setting the stage for the upcoming Season 3.
Tune in everywhere you stream, download or listen!
Showcase: Ferrari
Ferrari Purosangue SUV Production Confirmed for 2022 Deliveries of the first Ferrari SUV will begin in 2023, with a reveal likely coming in the next few months. ... [READ MORE] |
Ferrari Reinvents The Windshield Wiper We bet you won't guess what it is. ... [READ MORE] |
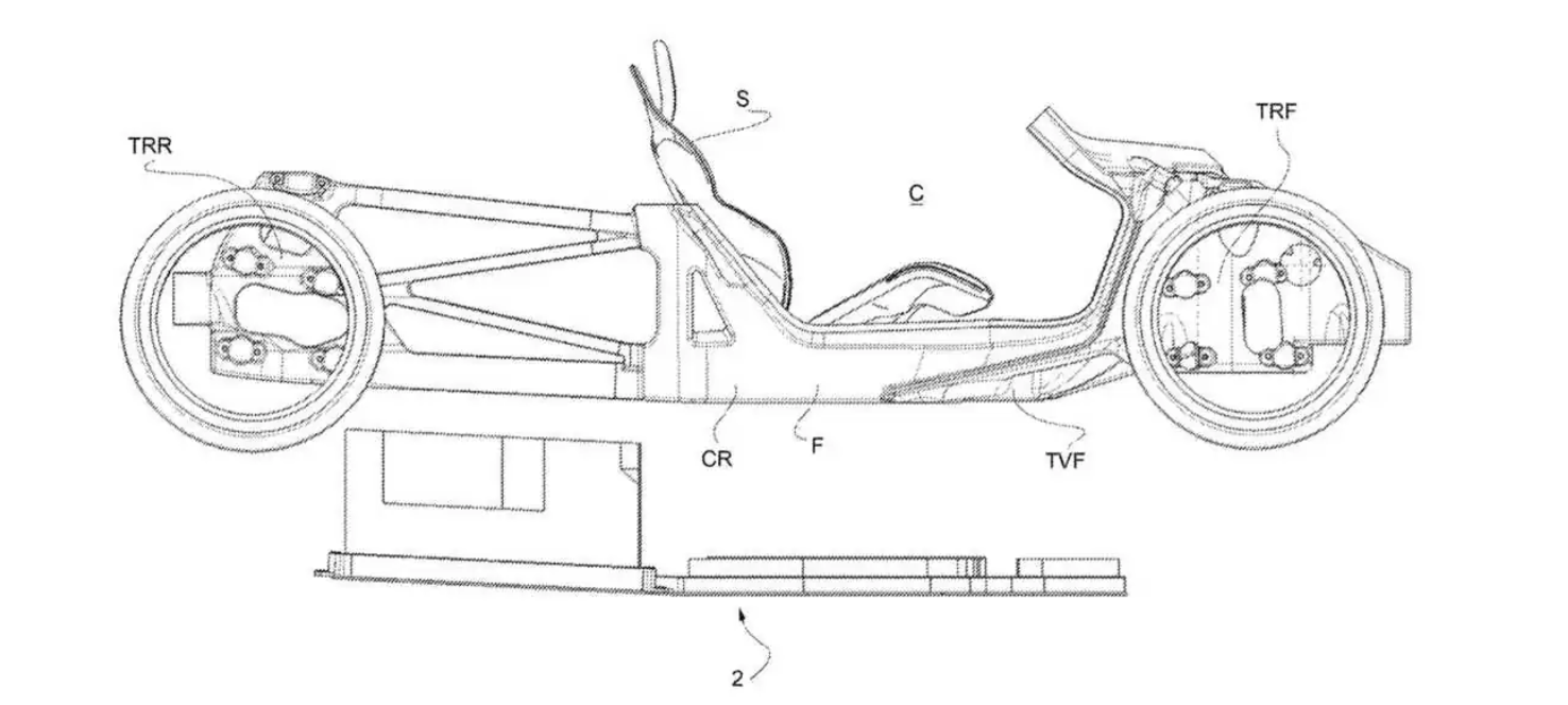
Ferrari Patent Drawings Show Midship-Mounted Battery Pack The Prancing Horse wants to retain the mid-engined feel of its sports cars even when they will no longer burn fuel. ... [READ MORE] |
ENZO Ferrari movie in the works! Adam Driver, Penélope Cruz & Shailene Woodley Set To Star In Michael Mann’s Passion Project ‘Ferrari’; STX Inks Big Domestic Deal & Handles Int’l — EFM ... [READ MORE] |
**All photos and articles are dynamically aggregated from the source; click on the image or link to be taken to the original article. GTM makes no claims to this material and is not responsible for any claims made by the original authors, publishers or their sponsoring organizations. All rights to original content remain with authors/publishers.
That crazy Math Lesson (re: Hyundai Ioniq5)

If you were following along with this months episode, here’s the logic (“maths”) we used to come to our MPG vs eMPG/Range conclusion. If you think it’s off, or have a better way of approaching it… then please comment below. #notoffended #notascientist #notamathematician.
One gallon of gasoline has 100% of the energy of 33.70 kWh. Ioniq-5 comes equipped with a 77.4 kWh battery which equates to roughly 2.3 gallons of “fuel”. It also boasts a 303 mile range… 303/2.3 = ~132 “mpg”. – The single-motor Ioniq-5 manages 225 horsepower and 258 pound-feet, and weighs 3979 lbs; It’s PWR ration is 92.96 W/kg. Comparables: V6 Jeep Grand Cherokee (WK2) 107; Audi 2.0T Q5 Quattro is 112. The average residential electricity rate in the U.S. is 14.19 cents per kilowatt-hour (kWh) — 77.4 * 0.1419 = $11 to fill up (from empty).
Automotive, EV & Car-Adjacent News
For a list of all the articles and events referenced on this episode check out the show notes below.
Domestics

- Ford and GM Warn Dealers to Stop Charging So Much for New Cars -- Auto makers try to curb the practice of adding fees to the suggested retail price, saying tactic could cost dealerships future vehicle inventory
- Ford unveils Mustang GT3 plans for 2024 IMSA season -- Ford Performance will develop a GT3 version of its Mustang that will debut in the 2024 IMSA SportsCar Championship.
- GM is investing over $150 million to produce electric motor components in New York
- Chevy Corvette Celebrates 70 Years with Anniversary Package -- The package can be had on any 2023 Corvette, including the Z06, and adds unique badging, special colors, and lots of red trim.
- Chevy Spark Discontinued, Production Ends This Summer -- The cheapest new car in America will be no longer after August 2022, with no direct replacement planned as Chevy focuses on crossovers.
EVs & Concepts

- Here's A Beautifully Designed Alpha Wagon To Join The List Of Nonexistent Alpha Vehicles -- They sell cars, but they don't sell cars. But it looks good. Maybe they'll come through.
- Future EVs That Deliver: Electric Delivery Trucks and Workhorses -- These delivery vans, semi trucks, tractors, and ORVs are arriving sooner than you might think.
- Bollinger Suspends Plans for Electric B1 SUV and B2 Pickup -- The electric startup will instead focus on building an electric-vehicle platform and will refund B1 and B2 deposits.
- Rivian: 8 modes, all terrains, one R1T. Ride along, off-road and on.
- The Land Rover Defender with the Heart of a Tesla -- Land Rover doesn't yet build an electric Defender, but E.C.D. Automotive Design is stuffing a Tesla powerplant into classic models.
Formula One

- American Haas F1 team first to reveal new 2022 car -- New-look F1 cars designed to be more competitive
Japanese & JDM

- The Toyota GR GT3 Concept Leaves Us With Questions -- This concept could mean another homologation special will surface in the near future.
- The Hyundai Ioniq5 Is One of the Best Affordable Electric Cars Yet -- Hyundai's electric crossover challenger is swift and charming.
- Subaru Revives the WRX Wagon, but Not the One We Want -- The new WRX will offer a 271-hp Sportswagon variant—but sadly only in Australia and exclusively with a CVT automatic.
- 7k-Mile 2000 Acura Integra Type R - Sells for $112k on BAT
- Hyundai and Kia tell owners of nearly 500,000 vehicles to park outside due to fire risk
Lost & Found

- This Is Definitely the Cheapest Dodge Viper GTS on the Internet Right Now -- There's a catch, obviously. A big one.
- LS-Swapped Geo Metro Is In Need Of A Brave New Owner
Lower Saxony

- 2023 BMW M2 Reveals Normal Grille Size In New Spy Photos -- My, what big air intakes you have.
- 2023 BMW 3 Series Touring Wagon - spy shots
Lowered Expectations
Motorsports

- Isabelle Galmiche: From Math Teacher To Rally Monte Carlo Winner -- Perhaps even more impressive than another win for Sebastien Loeb is the career of his co-driver.
- All the 'Gran Turismo 7' Details: Music Rally, 3D Audio, Starry Skies -- The highly anticipated racing sim for Sony PlayStation 5 is shaping up to be a hyperrealistic driving tool with new modes and better audio.
News

- All The 2022 Manual Transmission Cars -- Want a Car With a Manual Transmission? Here’s What’s Available in the U.S. in 2022
- 2022 Performance Car of the Year -- Four days, 700 miles, countless arguments, one winner.
Rich People Thangs!

- 2022 Lego Speed Champions Lineup Adds Lamborghini Countach, Mercedes-AMG F1 -- Seven awesome-looking new cars are coming to the Lego Speed Champions lineup for 2022.
- Tesla Cyberquad for kids - $1900, 10mph
Tesla

- Tesla Won't Bring Cybertruck, Roadster, Semi to Market in 2022 -- Development of the expected new models will continue in 2022, but instead of producing them Tesla will prioritize full self-driving that's 'better than a human.'
- Tesla launches ‘TeslaMic,’ a microphone for in-car karaoke
- Elon Musk launched his own Tesla roadster to space four years ago. Where is it now?
VAG & Porsche

- Volkswagen Passat Reaches the End of the Line -- The last U.S.-market VW Passat has come off the assembly line, and the long-serving sedan bows out.
- PORSCHE SETS RECORD WE DIDN'T EXPECT ON 1,400-MILE DRIVE TO TOP OF PIKES PEAK
- Twin-Turbo Lamborghini Huracan Runs the 1/4-Mile Quicker Than You Can Read This Title
- NINE FACTS YOU MAY NOT HAVE KNOWN ABOUT THE PORSCHE 959 | PCA TECH TIPS
TRANSCRIPT
Executive Producer Tania: [00:00:00] The Drive Thru is GTM’s monthly news episode and is sponsored in part by organizations like HPTEjunkie. com, Hooked on Driving, AmericanMuscle. com, CollectorCarGuide. net, Project Motoring, Garage Style Magazine, and many others. If you are interested in becoming a sponsor of the Drive Thru, look no further than www.
gtmotorsports. org. Click about and then advertising. Thank you again to everyone that supports Grand Touring Motorsports, our podcast, Brake Fix, and all the other services we provide.
Crew Chief Brad: Welcome to drive through episode number 19. This is our monthly recap where we put together a menu of automotive, motorsport, and random car adjacent news.
Now let’s pull up to window number one for some automotive news.
Crew Chief Eric: Before we head into automotive news, I want to make a special announcement. Guess what folks? This is the last episode Of season two, not the last episode of the show, but the last episode of season two, [00:01:00] 56 episodes into this season, we are wrapping it up with drive through episode number 19.
And as always, we aimed please. So it’s going to be a fun one. And we’ll talk more about what season two look like in case you’re tuning in maybe for the first time and don’t know, or maybe miss some episodes along the way. I think we got to start off this month, following up. With last month. And so, you know, we talked a lot about cars that were becoming zombie cars and disappearing and in a number of station wagons that aren’t being produced this year and next year and things like that.
And we missed something really, really important vehicles that are still available in 2022 with manual transmissions.
Crew Chief Brad: My one question is, can you still get a 2016 Dodge Dart with a manual transmission with a warranty that your local Dodge dealer I’m surprised by the M3 and the M4 because the previous generation, a lot of the reviews that came out about them said that the car was better.
[00:02:00] With the dual clutch, I guess the, the auto transmission setup compared to the manual. It said it was just a better driving experience. So I’m actually surprised that they are still catering to the enthusiast by putting the manual in these two cars.
Executive Producer Tania: So clearly. Brad hasn’t scrolled through the entire list if he’s being shocked off the bat, shocked off the bat with that one, because I didn’t know the Chevy spark came as a manual.
Crew Chief Brad: Wait, isn’t the Chevy sparky an electric only car? Is it a hybrid either way? That’s weird.
Crew Chief Eric: No, it’s an econo box, right? It’s the, it’s the generation of the geo metro. You know that, that heritage, that, that
Executive Producer Tania: there, the vault. The vault is the, is the little electric one.
Crew Chief Eric: So you brought up the spark, the Camaro’s on this list, the Challenger is on this list.
But aren’t all these cars headed to the graveyard? Didn’t they stop production of the Camaro? So what, these are the ones that are, to your point about the Dodge Dart, the ones that are left over on the lot. In the article, there’s an entire list of all these cars. There’s actually 34 [00:03:00] vehicles in 2022. I think that’s pretty impressive.
That still come with a manual transmission from the factory. I agree with you on the BMW, but there were rumors, not really rumors so much as complaints a couple of years ago by BMW owners saying, why did you get rid of the manual? You know, then you heard the other side of the coin BMW say, we’re going to be the last ones with the manual.
We’re going to be the last ones, you know, with a petrol engine and all this kind of stuff. So. I don’t know what’s truth and what’s not. I’m glad to see BMW sticking to offering a manual transmission. I will say it’s better for the track, especially with the gyros and safety software. I’ve coached some of these M4s and stuff and tracks like Shenandoah.
You know, you get up on an embankment and the car freaks out. It thinks it’s flipping over shuts down at least, you know, with a manual, you can pop it in neutral, keep going. And it’s not just dead in the middle of the track. Like I experienced with one of my students, I’d say things that did surprise me on this list were the two Cadillacs.
Executive Producer Tania: See, y’all are boring with your things surprising you. [00:04:00] I’m surprised to see that there are Mitsubishis! Are still being made here? Or, not made here, but being sold here?
Crew Chief Brad: What’s a Mitsubishi? I don’t know what that is.
Executive Producer Tania: Exactly! Y’all are getting hung up on Cadillac and Meredith Sennett. There is a Mitsub two Mitsubishis!
And you can get a manual folks.
Crew Chief Brad: What really surprises me is the Ford Bronco. I didn’t realize I didn’t know a manual like you, I knew the Jeeps. I mean, I had a couple of manual Jeeps, but I had no idea you could get the Bronco with the EcoBoost motor and the manual transmission.
Crew Chief Eric: That is pretty surprising.
I didn’t, I didn’t think that was the thing. Now, all the rest of these, the Hondas, the Hyundais, the GTIs and the Subarus, there’s no surprise there. There’s always going to be some car with a manual transmission, same with the Porsches, right? The 911 seems to always, you know, despite the PDK being better, there’s always going to be a manual option for the enthusiasts, the car I’m most excited about on this list, because I want to go test drive one as soon as they come out is the Z.
The [00:05:00] spark. No, the Z 400, right? The Nissan. I think that’s really cool. And at the dollar value that the Z is coming in at, that’s going to be a driver’s car. That’s going to be an enthusiast car. And I’m really excited about that. I think the only other one that got my attention that was a little out of left field, and still in the realm of the Bronco and the Jeeps, was that you can get a Tacoma in 2022 with a manual transmission.
Crew Chief Brad: Always, I think like the Wrangler, you’ll always be able to get a manual Tacoma. As long as they make the Tacoma, I will say that there, there is a car that’s not on this list that is sad panda. It’s the, uh, the Corvette. It’s a shame that they don’t offer the Corvette or the manual transmission. We knew that the C8 we knew, but I mean, I wonder what cars were on this list before like the previous year, the year before that, that are no longer on the list and which, which ones of those are disappointing.
You’re right. And you know, we,
Crew Chief Eric: we would need to do that comparison or maybe some of our listeners already know that information, but you know what? You’re right about the Corvette. I didn’t even [00:06:00] dawn on me. I kept thinking maybe there was a manual C8 out there, but I guess there isn’t. So again, some of this is.
No surprise, like the Miatas and the Mini Coopers and stuff. And there are a few shockers on here to include the Mitsubishi that Tanya pointed out. Something else that we missed during the whole shuffle of last month in the Winter Recap, Road Track announced the 2022 Performance Car of the Year.
Executive Producer Tania: At what point do they say what it is?
There’s like 15 cars listed.
Crew Chief Eric: Let me break it down for you. This is classic TLDR too long. Didn’t read. Even I got bored about a third of the way through this article and I was like, just get to the point. I found
Executive Producer Tania: it.
Crew Chief Eric: I’ll get to the point. The winner was the 9 11. Woo ha, whatever. But if you look at this list of cars, it is such a just menagerie, just [00:07:00] potpourri of different vehicles.
It didn’t make sense. How can you declare a winner? When on one end of the spectrum, you have the Volkswagen GTI and on the other side, you have the latest Lamborghini. And then all these cars in between like the Merc and the Cadillac and the Bentley, like whatever.
Executive Producer Tania: Because this was no ordinary Porsche. As it says, it’s God’s own Porsche.
Crew Chief Eric: Oh my God. Yeah, whatever. Much like the Consumer Reports stuff that comes out every year, when you enter the same car twice, aka the Burrs and the Furs, right? The 86, Subaru, and the Toyota as two separate entries in a contest like this, I’m like, yeah, you don’t know what the hell you’re doing. The same car, end of story.
I
Crew Chief Brad: think they put this list together. These were the only cars where manufacturers had microchips for them. So they were, these are the only cars they were able to deliver at the time. And I love how the Subaru BRZ weighs more than the Toyota GR 86. And it weighs more and [00:08:00] costs less. So it’s a better value.
Crew Chief Eric: You get more for less money.
Oh, what a mess. So which one’s
Crew Chief Brad: the winner? Which one’s the winner? She said the nine 11.
Crew Chief Eric: It was the Porsche. Yeah. And if you look at it from the hyper cars on one side or the super luxury cars, like the Bentley, you know, continental GT and all that stuff. And then the econo boxes basically on the other side, the Porsche sits in the middle, almost by itself.
It’s going to win. In almost every category between speed handling styling, all that kind of stuff. And it’s like, was this really a fair fight? And the other thing I thought that wasn’t fair about this article is we’ve got 2 entries that are the same car and we’re talking about performance vehicles.
Let’s let’s call it what it is sports cars. There’s not a single mention of a Miata on this list
Crew Chief Brad: or the C8 Corvette.
Crew Chief Eric: Exactly. And I’m like, what? So
Crew Chief Brad: you replace one of the Burrs Furs with a Miata. [00:09:00] You replace the GTI with a Corvette because it’s the only hatchback hot hatch in this. It’s a hot hatch. It’s not a sports car.
If they’re trying to do sports cars. The GTI, I love the GTI. I have one. You have one. That will everybody we know has one. It’s not a sports car though.
Crew Chief Eric: No, it’s a compact hatchback. It’s cool. They’re fun, but it’s not, it doesn’t fight in this fight. Right. Everything else on here is rear wheel drive. It’s the only front wheel drive car.
I’m like, I don’t know, whatever.
Crew Chief Brad: Oh, I would think the Bentley is all wheel drive. True. And the Lambo too.
Crew Chief Eric: Rear wheel bias, right? So yeah,
Crew Chief Brad: I agree with you though. The GTI doesn’t fit for me. And the double burrs. Separated should be combined and then add the C8.
Crew Chief Eric: In other news, we got to now talk about our showcase this month.
And for the first time ever in the drive through, we have Ferrari as our showcase brand. So Tanya, let’s talk about what’s going on over our favorite manufacturer from Maranello.
Executive Producer Tania: Apparently our friends at Ferrari, uh, you know, trying to [00:10:00] keep up with the Joneses, even though they shouldn’t. And I think they had alluded to this a while ago, but unfortunately.
What could have just been a rumor and a concept is apparently coming to fruition. Say it
Crew Chief Eric: ain’t so, say it ain’t so,
Executive Producer Tania: but the Ferrari, SUV on its way.
Yes, I did say the word SUV. And Ferrari in the same sentence. I have blasphemed.
Crew Chief Brad: Didn’t Ferrari’s CEO over the last, like, decade say that they will never make an SUV? Never
Executive Producer Tania: say never.
Crew Chief Eric: This is the automotive equivalent. of when the roof on Notre Dame fell in. Like, we’re, this is sacrilege. Ferrari’s building an SUV.
You’re lying to me.
Executive Producer Tania: I will say, based on the picture, its stance makes it look less SUV and more [00:11:00] slightly smaller compact crossover.
Crew Chief Eric: No, that’s
Executive Producer Tania: even worse! That’s
Crew Chief Eric: even what that means.
Executive Producer Tania: It’s
Crew Chief Eric: a Fiat Multipla with a freaking Ferrari badge on it. At least if it was the Maserati rebranded or an Estelvio or something, I could get over it.
But no. Compact crossover, Frank, get out of here.
Executive Producer Tania: I mean, it’s very much camouflaged to the point of they didn’t put Vinyl camouflage on it. They literally have like car cover on it is all you can really see is the windshield. So the true body lines are hard to discern. However, it doesn’t look like, you know, a Ford Explorer or something.
Crew Chief Eric: Terrible. What are they calling this turd?
Executive Producer Tania: The pure blood as it’s translated. The Puro Sangue.
Crew Chief Eric: Yes. Yes. The pure blood. Can you believe that? Can really, really. Real. That is,
Crew Chief Brad: that’s a terrible name for a Ferrari
Crew Chief Eric: idea. This is Amos. [00:12:00] This is, this is
Crew Chief Brad: a bunch
Crew Chief Eric: of the eye.
Crew Chief Brad: This is like that company that we thought died.
That’s still around Mitsubishi naming their SUV. The eclipse.
Executive Producer Tania: Anyone want to wager how much it’s going to cost?
Crew Chief Brad: 100, 000. How much does a Lamborghini cost? And then add like a 50, 000 to it.
Executive Producer Tania: So apparently this thing is going to be north of, well, it could start as high as 350, 000.
Crew Chief Eric: What? Come on.
Crew Chief Brad: So I can expect to see these in my kids schools parking lot.
Executive Producer Tania: They make a lot of bespoke Ferraris, if there’s truly this demand, which I’m curious to know, is there demand for like, are people clamoring to have an SUV? If not, they should have just made some bespoke ones. Like I could have lived with like, Oh, there’s only three in the world, but not something worth.
Crew Chief Eric: Ferrari owners are tired of driving their Porsche McCanns. That’s that’s what it is. And bed Yagas and [00:13:00] whatever. All right. So they’ve lost their minds and it seems like there are a list of other things that they’re trying.
Executive Producer Tania: Ferrari is also busy reinventing the wheel, if you will, not the literal wheel, but the windshield wiper.
So Tesla, look out, you got some competition to your laser beams.
Crew Chief Brad: Are they partnering with Tesla?
Executive Producer Tania: No, their idea is using compressed air across the windshield, which I like better than the laser beam because at least I’m not going to have like my retinas burned. Yes. The laser is not going to be that strong.
They actually still plan to have a wiper blade. So it’s this weird, like. Compressed air plus wiper blakes. They want a smaller blade. That’s lower profile. That’s not affecting their aerodynamics, which most of the days, the windshield wipers tucked down underneath, you know, the top of the hood kind of tucked in under the cowl anyway.
So what, [00:14:00] how is it really impacting your dynamics? I mean, if you’re using them and you’re going that fast, it doesn’t matter. Anyway, you’re losing speed.
Crew Chief Eric: The last time, if your car is slippery enough, just like we talked about the Cybertruck. You don’t need the windshield wipers put a little rain X on there and the uncompressed air as you’re driving will dissipate the water off of your windshield.
Here’s the problem with this. This is literally cutting your nose off despite your face. We’re going to develop this highly intricate compressed air miniature wiper blade system. to save on something totally idiotic and add 150 pounds of gizmos that’ll break when I can go to Walmart and buy a regular wiper blade for 11 bucks.
Executive Producer Tania: I mean this like anything else is just Then having an idea and what do you do when you have an idea you patent it so somebody else can’t take it doesn’t mean they’re actually ever going to use it in this application but it [00:15:00] precludes anybody else from doing it so I mean yes this is they’re doing exactly what they should do now in 10 years if they actually do this we can criticize them more.
Crew Chief Eric: I mean like I said before the patent trade office is full of bad ideas what I’m wondering though is You guys know what it sounds like when your wiper blades are like worn out. So what does it sound like when you’re driving in the rain and your micro wiper blade is worn out and you’ve run out of compressed air?
Is it like,
Executive Producer Tania: it’s nothing. Cause you creamed off the road. Cause you couldn’t see
Crew Chief Brad: what we’re not discussing is how 99. 999 percent of Ferrari drivers, their cars never see rain street. Or the rain or anything and never see the outside of a garage. So who is this wiper for?
Executive Producer Tania: This is not the only thing they’re patenting.
Crew Chief Brad: Oh,
Executive Producer Tania: really? So they’re on a patent from me, a frenzy, a role, [00:16:00] whatever
Crew Chief Brad: forefront of innovation.
Executive Producer Tania: And they will not be left behind just like they will not be left behind with this whole SUV thing. That’s decades old, even though they’re last, they’re not going to be last on EVs. They are patenting. a battery layout for mid ship mounted batteries.
Whenever they do unveil whatever EV they’re working on, they want to retain the weight balance of their Ferraris today that are all mid engine, etc, etc. So they, some, I don’t know enough about The battery placement and how it warrants the patents, but they’re patenting the location, uh, or I guess the setup, the assembly of these batteries to be quote mid engine in their, in their cars.
Crew Chief Eric: This is something I can get behind. This is something that makes sense outside of these other, just things that are complete lunacy, because if they can make the battery pack. Dimensionally fit in that space and way about the same as the [00:17:00] petrol motor that they’re pulling out with some sort of transaxle direct power to the rear wheels and all that.
I think it makes sense because they’re going to have a performance. EV something that can actually handle unlike a lot of these, you know, I get it. They do it low center of gravity and they try to disperse the weight across the car. But if they can make a one for one, what is Ferrari care about range?
Because to Brad’s point, these people are either maybe they’re using them at the track. Driving to somewhere or they sit in the garage a lot of the time. So why not make something as close to the OE as possible?
Executive Producer Tania: And lastly, in case you were now getting that little itch for all things, Ferrari, it was announced very recently director Michael Mann, if anyone’s familiar with.
His work. I’m not. He and I think the person who wrote script on the Italian job are collaborating for this director’s passion project, which is a movie about Ferrari, the [00:18:00] man. So this movie apparently is going to take place back in the fifties and be focused on Mr. Enzo himself.
Crew Chief Eric: I like this idea. I looked at the cast photo and I thought this was an article for that new House of Gucci movie, because isn’t it like the same people?
Is this a sequel to that movie? Like, what is this? It’s
Executive Producer Tania: not the same people. It is the same main male character. So Adam Driver is again, Playing an Italian gentleman. He was playing Mr. Gucci and house of Gucci. Now he’s going to play Enzo in this movie, but instead of Lady Gaga, we have Penelope Cruz playing, I guess his wife or
Crew Chief Brad: whatever.
The name I haven’t heard in about 20 years.
Executive Producer Tania: Yeah. She hasn’t really done much, has she?
Crew Chief Brad: Yeah. She, what was the last movie she was in? I can’t, I can’t remember vanilla sky.
Crew Chief Eric: No, no. That pirates of the Caribbean movie. Oh, good
Crew Chief Brad: one. Caribbean, the Caribbean, Caribbeanos. [00:19:00]
Executive Producer Tania: Well, before this turns into a, you know, Steve and Izzy show, shout out, we’ll have to catch this one with them in the future.
Whenever this eventually comes out. Not much to report on this, but it is a movie that’s coming. They got to get it all lined up. So it’s not in production yet.
Crew Chief Eric: It’s like rush or Ford versus Ferrari, something like that. It could be fun. You know, it’s one of those sort of mockumentary almost types of films.
So there’s no bad guy here. I mean, who are they going to, who’s, who’s going to play the villain, right? I mean, whatever, we’ll see. It could be, it could be fun. It could be entertaining. I guess we got to move on and we got to talk about Porsche, Audi and VW news. So what’s hot right now? Or maybe what’s not right now?
Executive Producer Tania: Well, a little bit of sad news to start off, I guess, depends on your point of view. Some people probably care less. Some people might be happy. And then there’ll be some that are sad to see the, I don’t know that it’s iconic, but it’s been around for quite a long time. The Volkswagen Passat is finally taking its [00:20:00] last cruise as a Finally discontinued that model and the last vehicles have rolled off the assembly line down in Chattanooga, and they’ve been fitted as Chattanooga anniversary edition.
So there’s, I know we talked about this some time ago that they said they were going to do this. So there’s a bunch of Tennessee touches and inside and things like that for the last model, but essentially the facade. Even though it was not the Passat when it first came over has been in the US at least since the early 70s, when it was known as the Dasher.
Crew Chief Eric: And then it became the Quantum.
Executive Producer Tania: And then it became the Passat. So it’s had a long history here. It’s taken a couple body shapes to get to the most recent rendition, which has always kind of been the larger sedan It was always class larger than the Jetta in terms of size, but, and now the Jetta, I guess, is the new Passat because they’re the same size, but we digress.
Crew Chief Eric: There’s an interesting video in this [00:21:00] article where they, they found like the original clip from like 79 or something like that of when the Passat came to the United States, because it came here later than when it was introduced in Europe, obviously. And if you watch it, it’s like this. Yuppie guy in California, this man, and you’re the guy that he breaks the fourth wall.
And the narrator asked him, well, why are you buying a Dasher? And he’s like, well, it’s better than buying a Buick. And I immediately, I thought to myself how that was foreshadowing at that time, because Passat just basically became a big old marshmallow Buick in its last runs. I mean, it’s, it’s the rental car of rental cars.
It’s the German Camry. I mean, it’s just like, Blah. And what I think they failed to do with the Passat, they should have gone in the direction of Cadillac with like the V cars. Like they never had a sport version of the Passat that was worth anything. They had a few trim packages and the W8 and every once in a while they’d throw us a bone, but in [00:22:00] general, as Tanya would say, it was vanilla.
It drove like vanilla. The Passat was just boring. It was always boring. And even as a VW, diehard VW guy, I’m not sad to see it go. And then unfortunately to make matters worse, the best and last Passat, in my opinion, was the B5. 5. But even that was an Audi and not really a Passat. So it’s like, eh, whatever.
Executive Producer Tania: Those are the ones that came four motion, the first four motions.
Crew Chief Brad: Correct. That was also the one that came with the W8 motor.
Executive Producer Tania: Those were nice.
Crew Chief Eric: They were a good size. They were good looking. They were the equivalent of the eighties Volvo. I mean, they were that, you know, kind of exciting. But when you, they were,
Crew Chief Brad: they were Volkswagen’s version of the E 39 BMW.
Exactly. Exactly. It was just like a nice, handsome midsize sedan sports sedan.
Crew Chief Eric: Like I said, there’s sort of other cool possessed, like the one with no grill. As long as it had the VR six. Right. ’cause it was one of the early VR six cars. That was cool. [00:23:00] But like some of the other stuff, you’re just like, eh, whatev, whatever.
Like nobody cares. And that’s why it’s not sticking around. I hate to say it because nobody cares.
Crew Chief Brad: They, they kind of replaced it with the Aron or the a, whatever the hell that car’s called. The The Aton. The Aton.
Crew Chief Eric: No,
Executive Producer Tania: I was behind one of those. I was behind one of those. I was like, oh, look at you.
Crew Chief Eric: Yeah. The Arton, is that what it’s called?
Crew Chief Brad: Yeah, the, the, the, the Una. Yeah. .
Crew Chief Eric: Yeah, that one. I mean, so is it, is the Passat really dead? Who, who knows? But even then it got weird with the Fon and all this other stuff and it’s like, is it an A eight? Is it 86? Like, I don’t know. It’s like who cares?
Crew Chief Brad: I think the Fayton was more Bentley than anything else.
The Fayton was actually a really cool for features and everything. I think it was far past an a eight of its time. Because whoever commissioned that car to be built, I can’t remember the names of anybody that worked at VW at that time, but they wanted that car to be the best car on the road that [00:24:00] all
Crew Chief Eric: that was Ferdinand PX, like mission is to make the smooth, you know, to beat Lexus, to have the smoothest, most luxurious, all steel construction vehicle, the fate and Wade, like a semi truck and it’s basically an aid underneath.
And the sheet metal on the outside, it was like a bloated B5 Passat. It still had the same styling cues. So that was what was hard to swallow of that car was like, I’m going to be
Crew Chief Brad: bland looking.
Crew Chief Eric: Yeah. You’re going to pay 90 grand for a fat Passat. I’m like, yeah, whatever. Get out of here. You
Crew Chief Brad: waited a year.
You could pay 10 grand.
Crew Chief Eric: Yeah. And then all the maintenance on the W12 would have cost you 80 grand. Yeah. Nine,
Crew Chief Brad: nine, nine. Yeah. 80, 90 ran on maintenance. For the
Crew Chief Eric: other things that confuse me and disappoint me just like the Passat is this next article, yet another Pikes Peak Porsche e tron records like I tried to read this article I read it three times and I’m confused.
Hopefully our audience will get it because I sure don’t
Crew Chief Brad: do the Porsche won the record for the largest elevation change in [00:25:00] one. Is that what I’m understanding? Is that
Crew Chief Eric: a record we were looking to beat?
Crew Chief Brad: It’s like a baseball record. You know, the greatest, most hits wearing two left shoes or most of the strikeouts wearing tennis shoes with red laces.
I don’t know. It’s, it’s all bullshit.
Crew Chief Eric: I mean, I didn’t understand that one picture of them. It looks like they’re in a, like a coal mine or something. Yeah, that’s, I think
Executive Producer Tania: that’s, I think that’s the point in order to hit that altitude record that actually started down in this mine and they drove out of the mine.
Okay. So it had to do a little bit of very light off roading if you will.
Crew Chief Brad: It’s a record Porsche now owns. It’s also a record that Porsche is the only one who’s attempted,
Crew Chief Eric: right?
Crew Chief Brad: The Guinness book
of world records is full of that shit. But speaking of records being broken,
Executive Producer Tania: apparently Lamborghini, somebody aftermarket tuning people, they took a twin turbo Lamborghini Huracan to the drag strip and they took it to [00:26:00] Bradenton Motorsports Park in Florida to do a quarter mile run.
And they, as it says, cross the finish line clocked at 7. 54 seconds with 186. 41 miles an hour top speed understood to be quote, A new best. And that that time is enough to humiliate the fastest stock production cars out there, including the current king, which is the Rimac Nivera.
Crew Chief Brad: This is not a production car.
First of all, it’s on Mickey Thompson slicks.
Executive Producer Tania: Thank you.
Crew Chief Brad: Yes. If you put a RIMAC on Mickey Thompson slicks and you slap however much money was spent on this kit into one of those cars, I’m sure you would beat it. I don’t
Executive Producer Tania: even think you’d have to do that because the RIMAC on summer Michelin pilot sport tires did an 8.
58. In the quarter mile. So put drags on that and let’s see what it does.
Crew Chief Brad: Yeah. All right. Put drag slicks. And yeah, none of this is
Crew Chief Eric: important because an [00:27:00] eight second car is slow as dirt. I don’t give a crap if it’s a twin turbo Lamborghini or the rim back seven and a half to eight and a half seconds. Just like, you know, Toretto, you owe me a 10 second car.
That’s slow. I mean, there’s Teslas that are faster than this. There’s other cars that are faster than this
Executive Producer Tania: caveat with this was it’s street legal car.
Crew Chief Eric: There’s plenty. No, that’s BS. And there’s plenty of pro stock cars out there and plenty of American muscle, big block cars that will blow the doors off of both of these that are street legal, quote unquote.
So this is, this is a bunch of hype and that that twin turbo kit. Okay. That’s what the same twin TUR kit that’s available for the R eight ’cause it’s basically the same motor and all that stuff. Who cares? This is old news. Speaking of old news, we ask a lot of times on the pit stop. If you were the last person in the boardroom to cast a vote and the vote is between the 9 59 and the F 40, which would you choose?
So far, all of our guests have answered. [00:28:00] F 40, but have given a justification for why the 9 59 is quote unquote, technologically superior. And so I found it interesting that our friends over at the Porsche Club of America, who by the way, have kicked off their own podcast recently, they put together an article talking about nine interesting facts that you might not know about the 9 59.
And what’s really important about this article and the research that went into it is that when you stand back. and look at what is being shown, you have to put it into the context of the time period. So you look at, Oh, twin turbo, big deal, four wheel drive, whatever, manual transmission and all these different kinds of things, you know, off road capability.
You’re like, whatever, there’s tons of cars that have that now. But when you bring this back to late 1980s technology, built on top of 70s 911 chassis. This was a supercar. This was Porsche’s first real production supercar. [00:29:00] These things are record setting. These are real records being broken by Porsche.
These are pushing the boundaries of what could be done at that time in the automotive and really in the motor sports world as well. And so, When you compare the 959 to the F40, the 959 is hands down technologically superior. The F40 was primitive. It was still based on, you know, like the 288 GTOs and things like that.
It had some Formula One technology in it, but not in the same way that the 959 did. So I think this is a really solid read. And my good friend, Manny Alban, who I’ve known for many, many years, put this together. And I gotta give him a shout out. So when you have the chance, be sure to check out Porsche Club of America’s new podcast.
It’s called the PCA Insider. And Manny is also one of the hosts on that show. And I wish them all the best of luck as they’re building out their platform. So I think that wraps up our Porsche, Audi, and VW news for the month. Let’s transition now to the rest of Lower Saxony and talk about what’s going on over at Mercedes and [00:30:00] BMW.
Executive Producer Tania: Somebody woke up, woke up and realized those ugly kidney, not kidney grill things, beaver teeth, not a good look.
No,
Executive Producer Tania: bucktooth beaver BMW might be sun setting lies. Newer models have smaller sized proportionate grills.
Crew Chief Brad: Those two giant grills, at least on the car, we’re only on the M three and the M four. I don’t think I saw them on any of the other regular.
The Xs and the sevens. Not really. I don’t remember seeing those giant. But the trucks
Crew Chief Eric: have those huge grills. Remember they compared them, the grills on the front of an X five are bigger than the whole front end of an E30. Like they’re just ginormous. Maybe this goes in line with them returning the manual transmission to the M3 and the M4.
Maybe they’re starting to listen to their customer base. You know, the enthusiast saying, Hey. BMW, what the hell are you doing? They thought the bangle period was bad. This stuff is just insane. And I know we’ve had guests on that sing the [00:31:00] praises of the new BMWs, early adopters, all that kind of thing. And I have to agree with some other folks that have been on the show.
People buy with their eyes. And if it’s ugly, it’s ugly. They ain’t gonna buy it.
Executive Producer Tania: People buy with it. Well, I don’t have to see it when I’m sitting on the inside.
Crew Chief Eric: That’s very true too, but I would be embarrassed all kidding aside. I mean, I’m glad that they’re changing back to something that is more iconic BMW.
I don’t want to call it pleasant to the eyes or more appealing. I want to label it as iconic BMW. I looked at that car and went, it looks like a BMW. Like every good concept prototype. Spy photo, what is there and what is reality? They might slap those huge grills back on it again. So, you
Executive Producer Tania: know, I’ve seen some other, they’re going to do it with the eight.
They’re going to do it with the four. They’re going to do with a bunch of other models. They’re already showing the new models coming out and they have the smaller girls, not these big monstrosity things.
Crew Chief Brad: That’s going to make those giant grilled [00:32:00] cars, collector’s cars. It’s a very limited run.
Executive Producer Tania: Maybe that was their plan this whole time.
Crew Chief Brad: Mm-Hmm. . Mm-Hmm. .
Executive Producer Tania: If you’re in the, uh, market for a touring wagon, BMW will Sure to delight you with the upcoming 20 23 3 series wagon. Just as long as you don’t live in the United States and you live in Europe, ,
Crew Chief Brad: they’re even making an M three version as well.
Crew Chief Eric: I’m okay with all of this. You had me at Wagon and I will say previous.
Generation three series and even five series station wagons are good looking wagons. They lend themselves well to the BMW physique, to the design. I like them. I’ve never not liked them. I haven’t seen an ugly wagon yet. And thankfully, I think the wagons missed the whole weird front end phase. So I’m okay with this.
Now I will say this. It looks a little big. The belt line looks a little high, kind of reminds me of the Volvos where they’re just sort of. stretched [00:33:00] up, you know, maybe with a set of nice wheels, like an M2 has or M3 or some sort of M sport package or whatever. I’m excited for this. And I don’t say that very often about BMW, but I am excited about this.
We can now finally say that there is no Stellantis news this month. So we’re going to take a moment of quick silence in honor. There being no Stellantis news. Well,
Executive Producer Tania: none that we’re
Crew Chief Brad: apparently aware of. I mean, we already talked about Stellantis news. The challenger comes with a manual again.
Crew Chief Eric: Oh, okay. All right.
All right. So yes. All right. The record is still in place. There is always Mopar news. To talk about, but we do have to switch to our other domestic news sponsored in part by American muscle. com. Your number one source for OE performance and replacement parts for your Chevy Ford or Chrysler product
Crew Chief Brad: Ford and GM worn their dealership network to stop overcharging for brand new cars.
Crew Chief Eric: Somebody posted the other day and I was [00:34:00] completely flabbergasted by this. One of the sticker ads for a brand new Ford pickup truck. Now I know the prices of vehicles have been going through the roof, but to see a 52, 000 dealer markup, I get the 1997, you know, dealer, what was that? The destination charge?
We talked about the last time, but 52 grand for what?
Executive Producer Tania: I’ll buy another car with that money. What the hell?
Crew Chief Brad: I get angry at the 595. Pen striping charge. Who the hell is going to pay 52, 000 over sticker? Well, the best part is the
Crew Chief Eric: pin striping charge is for the pinstripe. You didn’t want on the car to begin with.
It’s already there. Exactly. You got to pay money to get it off. The pickup truck that was posted about it, put it like well into like 130, 000. I’m like, why, who, how, how? I mean, I get that Ford trucks and trucks in general and high demand and things like that, but to 52, 000 markup, I [00:35:00] mean, that’s bring a trailer crazy levels of asking price in mind at
Crew Chief Brad: your local dealer,
Crew Chief Eric: hopefully something course corrects, or the factories can push back on the dealers and say, Hey, you can’t, you can make a profit, but you can’t make this much profit.
Or I think it’s going to have to take government legislation to step in and say, you’re gouging people, you’re ripping people off, or People buy with their eyes, like we said, but they also buy with their wallets and their hearts. And if you walk in and you see that you got to walk away,
Crew Chief Brad: you should walk away, but you won’t walk away because the dealer will slap on 15 year auto loan for a mere six and a half percent.
Crew Chief Eric: It’s like a mortgage.
Yeah.
Crew Chief Eric: No, thanks. Flipping that coin a little bit and talking about the motor sports world. I’m a little bit excited because as I’m diving more into the new changes that are coming for the classing, especially for 2023 Le Mans, we’re seeing a lot more GT3 and GT4 entries, right? And there’s whole [00:36:00] series like SRO that are devoted to GT3 and GT4 and Ford has now officially announced their GT3 plans.
for IMSA. And I’m like, awesome. This is great. But we have to wait another two years. I feel like this is a carrot that’s being dangled out. I don’t think that the Mustang’s ever going to go away like the Camaro’s gone away. But then again, I’m like, what’s going on here? How’s this going to work in two years?
Is that Mustang going to be a hybrid? Is it still going to be a V8? Is a V8 going to be a thing? How does this work with the Corvette? With the whole balance of power thing? The Mustang’s at a disadvantage right now against other cars that are in its class. And so I’m really curious to see how this all plays out.
I’m really excited that Ford is coming back. I just wish they were coming back in 23 to compete with everybody else that’s going to be on the big stage. We don’t know if they’re going to be an LMDH, you know, with some sort of prototype. I mean, the Cadillac was. Re revealed [00:37:00] again with some new videos and things like that.
And it looks super cool. I’m really excited about that. I mean, go GM. That’s awesome. I think coming to the stage in 23 without something big from Ford is, I feel like it’s a mistake.
Crew Chief Brad: Yeah. Maybe they did the latest iteration of the Ford GT. A little too soon and they should have timed it from a marketing standpoint, a little differently to coincide with the a hundred years of the, and all that.
I’m excited for a GT3 Mustang, mainly because in 30 years, when they’re all on racing junk for 15 grand, I had to pick one up.
Crew Chief Eric: Nice. I like that. That that’s forward thinking. That’s that’s solid strategy there. I like that. You know, I don’t generally commute a lot, especially into the city, but I did this month many, many times and, you know, gave me an opportunity to see what’s hot on the road, just kind of scanning traffic.
And you know what? I spotted, I spotted a Taurus X. Can you believe it?
Crew Chief Brad: What is
Crew Chief Eric: a Taurus X? [00:38:00] Exactly. It’s not a new car. It’s a quite an old car. And it’s like this Taurus that’s not an SUV, is a station wagon, but it’s sort of like the original Pacifica when they reintroduced it. Remember that thing that like up on stilts, but it’s a wagon, but it’s an SUV.
And I looked at it and I said, yeah, somebody actually bought one of those. I was really, I was actually really proud of that guy. And I was also proud of the fact that it’s still on the road after like 20 years. It was been produced, but again, I didn’t know
Crew Chief Brad: you, you, you mean the Ford freestyle? Is
Crew Chief Eric: that what it
Crew Chief Brad: is?
This is exactly what it is. Yeah. It looks like a flex too. It’s
Crew Chief Eric: weird.
Crew Chief Brad: Yeah. It was the Ford freestyle. And then I guess they rebadged it as the Taurus axe to give it, you know, some clout because, you know, the Taurus name carries with it some pedigree, but it replaced the freestyle.
Crew Chief Eric: Yes. We’re just going to leave it right there.
It was, yes, it was. Yes. So that being said, all kidding aside, I actually saw. [00:39:00] Two Mavericks this month on the road, brand new. Here’s my first impression. Explorer sport track. Look at that. And then I went, Oh, no way. It’s Maverick. It looks like a sport track at first glance, you know, that weird SUV in the front, mini pickup truck in the back size wise, it’s like a step up from the previous Ford Ranger.
Like when they stopped making the ranger. So it’s actually a decent size. It’s not F one 50 big and it’s not as big as the ranger. So I think as a, as a small pickup, it’s good. It’s bigger even than the sport track was, but it’s got that shape. The front is reminiscent of the last generation ranger, the pre EcoBoost ranger and all that kind of stuff.
I’m not sure what to think of it, but one thing did get my attention. The Maverick on the back is huge. I mean, it reminds me of like a square body Chevy. I mean, it just takes up the whole tailgate. And then it kind of dawned on me. I was like, well, where does the license plate go? And then I spotted it.
It’s off to the [00:40:00] right side of the receiver where the trailer, you know, where the trailer hitch goes. It just looks so awkward. Everything’s out of proportion because the license plate sits off to the side. Really low too. It’s, it’s kind of bizarre. That’s the one kind of styling cue that I was just weirded out about.
Crew Chief Brad: I don’t know that I’ve ever seen one on the road, but I don’t know why they needed to make this if they have the Ranger, like when I’ve heard people talking about this, I thought they were just, it was a trim level of the Ranger. Maybe I didn’t realize that it was its own standalone truck. Because looking at it, it, I mean, it looks like it’s not body on frame.
It looks like it’s unibody. So, so I guess the Rangers body on frame, this is unibody.
Crew Chief Eric: For all we know, it could be a sport track just, you know, with new sheet metal.
Crew Chief Brad: Yeah. Cause the sport track was based on the Explorer.
Crew Chief Eric: Overall, I liked it. I will say the first one I saw. I wasn’t a fan of the color was this weird blue, the ones you kind of see in the press pictures, it doesn’t look as good in real life as it doesn’t picture.
And the other one was like a, [00:41:00] I gotta say it this way. It was like a diarrhea Brown, but it wasn’t, it wasn’t bad. I mean, I was actually a kid. That’s like a paper bag color. That wouldn’t be the first color I selected, but you know, whatever. So I was, that was cool. I thought that was neat to see a Maverick on the road.
This soon after us talking about it coming, I was like, that’s cool. Curious to see what else comes out here in the next year or so.
Crew Chief Brad: So when does the Raptor version of the Maverick come out? How soon till we start seeing them in a, in an HPDE event?
Crew Chief Eric: Hey man, send it. We got to talk about our friends over at GM.
Executive Producer Tania: So they’re doing some investment. Obviously they’ve gotten into the electric car race as well. And they’ve got a facility in New York locked in components that makes a lot of parts specifically for GM radiators, condensers, HVAC, oil coolers, things like that, and so this facility is actually going to get a big upgrade.
Thanks to GM dumping some money into it to build a bunch of. Electric motor [00:42:00] components there. So expanding kind of their component train and in us based and bringing jobs and investing in their EV future.
Crew Chief Brad: We talked about it on a previous drive through where GM was using 3d printing technology to make race parts.
Will they be incorporating some of this technology into these EV parts?
Crew Chief Eric: That’s a very good question.
Executive Producer Tania: Time will tell. I guess.
Crew Chief Eric: I also feel like GM is spending a lot of money. Every time we turn around, I hear the word GM and investment in the same sentence. Remember they invested a ton of money in Nicola.
They invested a ton of money in the Lorton factory. They, and they invested a lot of money in all of these things. What’s coming of it? I mean, I get that it takes like a decade for this stuff to come around full circle. They’re
Crew Chief Brad: not paying taxes.
Crew Chief Eric: There’s that, right? They’re taking a loss on this, but I feel like.
Even Ferrari’s going to come to the table with this EV, CUV, monstrosity, pure blood thing before GM gets their first legitimate EV out [00:43:00] there that isn’t the Volt. So there was the Volt? And the Bolt. No, because
Executive Producer Tania: they, they’re coming up with the lyric. So Cadillacs is supposed to be coming out within the year,
Crew Chief Brad: late this year,
Executive Producer Tania: next year.
Crew Chief Brad: And the Hummer is still GM, right? Nobody else bought it. I don’t believe so. I think it’s GMC, which is GM. It’s, it’s all the same.
Crew Chief Eric: Well, Brad, you know, I’m glad that you’re back because we haven’t had a lot of Corvette news since you’ve been absent from the drive thru and suddenly you come back and now there’s all this Corvette stuff in the news.
What’s going on now?
Crew Chief Brad: I’m not saying I inspire all this Corvette stuff, but. GM kind of does it for me only. So the Chevy Corvette is celebrating 70 years and how are they doing that with an anniversary package, which I haven’t read this article yet, but I’m guessing it’s just a, a bunch of badges and colors and bullshit like they did for the 50th year.
Oh, so let’s see. Including as unique badging, special colors, and lots of red trim. Yeah. So it’s a, it’s an appearance package. GM is all about the appearance package. They [00:44:00] did the same thing with the Camaro for the Camaro’s 25th anniversary. The Corvette 50th anniversary was a special maroon color. I think with the magnesium wheels and whatever bullshit, I just said it.
It’s bullshit. It’s 52, 000 markup at the for a base. Stingray. If you can get one.
Crew Chief Eric: Now, I will say I like it. I think it looks good. Those wheels are really nice. And the little red trim, especially because it’s coming in black and white, I think it kind of reminds me. In a weird way of like the GTI trim package, right?
Where it’s like the, just that little thin red line makes all the difference. And it just, it looks, it actually looks pretty cool. That’s a lot. Cause I’m not, I’m not the biggest fan yet of the C8, especially the back, those profile shots, I think it looks pretty slick.
Crew Chief Brad: Good on them. No, no, I mean, they definitely do a good job with them.
I don’t see anything about the price for this package when it comes out, but I can tell you that it’s not going to be worth the price. It’s a good looking car, but it’s not [00:45:00] going to be worth the price.
Crew Chief Eric: One last sad bit of Chevrolet news, which we kind of
Crew Chief Brad: tying it in all together with our first story.
Crew Chief Eric: That’s right. We are.
Executive Producer Tania: We mentioned how surprising for that Chevy spark to be offered in a manual, but folks, you better jump on it after August of 2022, there will no longer be. Chevy Sparks available off the line. They are being discontinued.
Crew Chief Brad: Collector car alerts.
Executive Producer Tania: Funnily enough, the picture in the article even shows the manual version.
Crew Chief Brad: If there was an automotive investment opportunity. This is it. I gotta
Crew Chief Eric: ask. Would you
Executive Producer Tania: drive one? Like as a rental? No, not at all. Why? Why would I be buying this? I would totally get the Corolla hatchback.
Crew Chief Eric: I agree. I saw one of those driving around this month too. They’re pretty cool looking. It was in a weird blue color, like this, like Robin’s egg electric color.
It was [00:46:00] striking. I was like, man, that’s the new Corolla, like sport hatchback.
Executive Producer Tania: You can get the midnight murder packages on it too.
Crew Chief Eric: Yeah.
Executive Producer Tania: I was just going
Crew Chief Eric: to say no, because I do not fit. I would drive a spark under one condition. If it was a fully prepped B spec race car, I would drive a Chevy spark thousand percent, because it would be a lot of fun.
Crew Chief Brad: This wouldn’t even be B spec. This would be D spec.
Crew Chief Eric: He’s using the Forza class. You
Crew Chief Brad: buy one, the base model is F spec. And then you, you drop 150 grand into it to get it up to D.
Crew Chief Eric: I didn’t say I was building the race car. I said I would drive it and this over stuff like the Honda fit.
Crew Chief Brad: I do love. Okay. So all jokes aside, you can pick up a brand new one of these cars for 15 grand.
Yep.
Crew Chief Brad: Yes. Okay. So I, yes, I would buy this if I was in the market for a new car and I was not six foot four, then I would totally consider one of these for just a putting around [00:47:00] town, normal commuter car at 15 grand. When the average base. You know, average cost of a car right now is close to 50.
Crew Chief Eric: Let’s take that back.
That Maverick is something like in the 20s. So would you rather have the Maverick or the Spark at that point?
Executive Producer Tania: Well, the Corolla Hatchback’s 20.
Crew Chief Eric: Yeah, I think I’d still go with that. It’s as close as I can get to a Yaris, right? Without.
Crew Chief Brad: So we basically just explained why the Spark is going away because of the Corolla Hatchback.
Crew Chief Eric: Wasn’t there a Spark Turbo? Wasn’t there like some Goofy add on thing for the factory, like special version or something like that.
Crew Chief Brad: I, yeah, I think it came with the tornado that you used to see on infomercials that would help the fuel economy.
Crew Chief Eric: You hit a slap chop on the dashboard and it spins up the turbo.
Crew Chief Brad: It came with a tube that came from the engine compartment in New York, in the cockpit and you blew into it. And it forced induction into the motor.
Crew Chief Eric: That’s awesome. Oh man, lean as me and keep blowing that air in
Crew Chief Brad: [00:48:00] there. Is GM or Chevy going to release it with a special appearance package?
Executive Producer Tania: They should, they should sunset it with some special trim packages.
Yeah, it’s black and white with little red lines.
Crew Chief Eric: It’s the what, what year anniversary does anybody
Crew Chief Brad: even care they could call it 10 years, 10 years, 10
Executive Producer Tania: years, decade,
Crew Chief Brad: the 10 year anniversary of the spark, the car existed. Let’s take what he was leaving.
Crew Chief Eric: Let’s take this back. Let’s take this back just one more time by a facade or spark.
Crew Chief Brad: I mean, the sparks got more style. So I would totally buy a Corolla hatchback.
Crew Chief Eric: That’s awesome.
Crew Chief Brad: No, the answer is Toyota
Crew Chief Eric: GRRs. It always will be. That’s for sure. Yes. So this has actually been a great month for news. We’ve had Corvette stuff come up. We’re talking about manual transmissions. People are breaking records. Appearance packages, all this fun stuff. We don’t have any Stellantis news to [00:49:00] really talk about, but you know what we do have instead?
We’ve got JDM news. This is awesome. So let’s, let’s dive into this. And the one that got me right off the beginning of the month, Toyota, the gazoo racing team has unveiled their GT three concept car. And just like the title of the article says it left me with questions.
Executive Producer Tania: It Batmobile.
Crew Chief Eric: My first question was, is this a Toyota powered Mercedes?
Cause it looks like the SLS, right? I was like, what is this? Is this
Crew Chief Brad: like, and because of that, just to save them money.
Executive Producer Tania: And because of that, I like it looking like that. Mercedes is not a bad thing.
Crew Chief Eric: No, it’s good looking. I’m really shocked that something like this would come out of the Toyota design studio and I’m just like, wow, this is cool.
Who knows to Brad’s point, maybe this is some cooperation like they did with on the Zupra right between hopefully [00:50:00] it isn’t a BMW and they’re not going back to that well yet again, he’s right on point when he says that because all of their sports cars, whether it’s the 86. Or it’s the Supra or whatever it’s in combination with somebody else, right?
It’s a cooperative effort. So I’m really curious to see where this comes from. Doesn’t look or read like it’s a Lexus with different sheet metal, like they’ve tried to do in the past, like the RCF and things like that, which we’ll talk about more when we cover Rolex. And this is cool. I’m curious to see where this goes.
Crew Chief Brad: I think it’s just going to go as a race car in the GP3 class, much like that Mustang. I would love to see something like this eventually end up into production. I don’t see that ever happening, but it may have to, if this is going to be a real race car, but
Crew Chief Eric: or it ends up in Gran Turismo before it ends up on the street.
You know what I mean? That kind of thing. Kind of like the Mazda Ferrari, which was super cool looking, same kind of thing, like just blows you away. Even if you look at it today, you know, 10 years later, you’re like, Oh, the Ferrari is awesome. Just never came to fruition. It never happened. So I want to spend a little bit of [00:51:00] time talking about the next car on our list.
And it’s, it’s a car that’s come up before and Tanya talked about it when we talked about new EVs and concepts, you know, before we devoted more time to the Japanese market, it was the Hyundai Ioniq 5. And it’s now being titled as one of the best affordable electric cars yet. I have to take a pause here because I’m going to say something I didn’t think I was going to say.
I like this.
Executive Producer Tania: It looks good.
Crew Chief Eric: I like it a lot. And the more I read about it, the more I like it. It would be a hard, hard decision to make between this and the Mach E because I’d like the Mach E as well, like the way it looks, especially in certain colors and things like that, again, buying with my eyes. But I started to dive into the numbers a little bit because I will be honest, you know, I’m not a dinosaur.
I do love my petrol. I wanted to do a little bit of homework because if this is one of quote unquote, the best. What’s so good about it. So I wanted to dive into the numbers. I wanted to do some comparisons between the driving I’ve been [00:52:00] doing this month with, you know, an older petrol car against something like this ionic five.
And you can read all about the ionic five in our show notes and figure out how wonderful it is, but I want to get. to a deeper conversation here. And so one of the things that I think has eluded us for a while when we talk about range anxiety and things like that is that there is no simple way to convert and compare a gallon of gas to unicorn farts, right?
And so I actually found there were some Equations that were put out by Stanford about like EMPG and like how it converts all this kind of thing. So I kind of boiled it back and I got down to a single, very important number. One gallon of gasoline has a hundred percent of the energy of 33. 7 kilowatt hours.
And I went, whoa, wait a minute. Okay. That’s something tangible. I can work with this. So starting to break it down a little bit further, not trying to go into a whole math lesson. So I’ll kind of tell you what I discovered here, why this is, this is important to the larger [00:53:00] discussion and the future of EVs and how we grasp this as car enthusiasts, right?
So 33.7 to one is the ratio. The ionic five has a 77.4 kilowatt hour battery, so you kind of look at that with 77. That’s a low number. A hundred is good. Triple digits like we think like horsepower, right? Bigger numbers are better, but in reality, 77.4 kilowatt hours is roughly equivalent to 2.3 gallons of fuel.
So it has a 303 mile range. People start flipping out about that number. A lot of gas cars have about 300 miles of range. So they’re trying to give you this equivalency. That’s 2. 3 gallons into 303 miles is an average of 132 miles per gallon. There is no gas motor or diesel motor on the planet right now that can achieve those numbers.
I’m sorry. I finally have come to this realization. Okay, fine. Here’s the downside. And it dawned on me in a conversation that I had with one of our previous guests, Crutch, who’s been on the show a bunch of times, he [00:54:00] has a Volkswagen ID4. He mentioned that his ID4 has the equivalent horsepower to about 225 gas horsepower and I said, okay, wait, hold on a second.
I took that back to the Hyundai again, and I said, okay. The Hyundai’s single motor model manages 225 horsepower, just like the ID4, and 258 pound feet of torque. Roughly the same as a 2 liter Volkswagen TDI. Now, I know what that feels like, I know what that drives like, so whatever. The IONIQ weighs almost 4, 000 pounds.
So that got me thinking, like a racer, power to weight ratio. So the power, so power, weight ratio of the ionic is 92. 96 because it gets all converted to Watts per kilogram. Right. And all this kind of thing. I wanted to know without going to drive one of these, what does it drive? Like, what’s it going to feel like?
Because it’s a heavy car at the end of the day with, let’s think about it as a small motor, not really about the battery or the range. So when I started to kind of back calculate and figure out what cars that were equivalent [00:55:00] to this, I couldn’t find something that was like right on the money. I could find things that were close.
And in my mind, then I could wrap my head around the whole idea because I’ve driven these vehicles before. So let me put it in perspective for the listeners. A Pentastar 3. 6 liter Jeep Grand Cherokee is roughly faster than this Hyundai. Also in that same category, The 2. 0 turbo Audi Quattro Q5. So if you’ve ever driven one of those, you know, kind of CUV SUV, then you have an idea of what this is roughly going to feel like, obviously power delivery is different because the electric power plant, all this kind of stuff.
Cool. So we kind of put that all in perspective. It’s just like any other midsize SUV V6 or high strung turbo four cylinder. So then it got me thinking, well, how much would it cost to operate? In general, so to fill it from 0 is 11 bucks because the average in the U. S. Is 14. 19 cents per kilowatt hour, right?
So I just took the number and just [00:56:00] multiplied it out. It’s 11 bucks to fill from 0 and the driving that I’ve been doing this month, rough mileage and kind of figured it all out. It would basically cost me. 18 a week to operate the vehicle running the mileage that I ran just basically charging the car every time I got home and I ended up spending close to what the current price of gas right now.
I was up in the neighborhood of 100 in fuel. So the cost savings overall better. The upfront cost of the vehicle. Obviously there’s that. There’s a lot of things to weigh in here, but if you’re considering an EV or you’re digging your heels in about how petrol’s better, I kind of encourage you to sit back and do the math and I’ll, and I’ll share my math in the, in the follow on article if you want to take a look at it.
Just kind of how roughly I got. You can tell me I’m wrong too. I’m totally okay with it. I am not a scientist or a mathematician, just an average Joe. Like you try to figure out how this makes sense and what the future does look like. Okay. Thanks for joining my TED talk.
Crew Chief Brad: My only thoughts on all that is yes, [00:57:00] you save savings came to 82 a week in your test case, 82 a week.
So that’s what, 240 a month. How much is a car payment going to be on a 40, 000 car?
Crew Chief Eric: Yeah, that’s,
Crew Chief Brad: that’s the part I didn’t want to look at as opposed to a vehicle you already own. Correct. Well,
Executive Producer Tania: that’s the thing with any car purchase though, right? Like if you already have a car, it really makes no sense to ever Change your car.
You can never recoup it,
Crew Chief Brad: right? So unless you’re in the market, you’re in the market for a new car.
Crew Chief Eric: If you are in the market for a new car, go electric. But if you really want a WRX station wagon,
Crew Chief Brad: move to Australia.
Crew Chief Eric: That’s right. Because we’re not going to get one. Sorry, folks. That’s okay.
Executive Producer Tania: This thing’s ugly.
Crew Chief Brad: I was just thinking it looks, it looks just like the Buick.
Executive Producer Tania: That’s what I, yes. Although I think the Buick looks better.
Crew Chief Brad: So Subaru is selling a Buick wagon in Australia with a CVT transmission. This thing is a waste of time. Why are we talking about it?
Crew Chief Eric: I [00:58:00] don’t know, but you know what else is a waste of time? How about spending 111, 000 and bring a trailer for a 2000 Acura Integra?
Crew Chief Brad: I’m going to defend this a little bit.
Crew Chief Eric: Oh, please do.
Crew Chief Brad: No, I’m not defending 112, 000, but this Integra, the engineering that went into this car when Honda created it is very similar to the amount of engineering and over engineering that Toyota put into the Mark 4 Supra, as far as over building the motor and everything like that.
This. Particular Integra type R model is actually a very special car. Still only had like 200 some odd horsepower or whatever it was, but Honda overbuilt, you know, the car and use special materials and engineering when they created the car. So I, I say they are collector’s items and they are worth something.
000, but I’m also not in the market.
Crew Chief Eric: I don’t know what to [00:59:00] say because I am a fan of front wheel drive cars. But I could never see spending this kind of money on the equivalent of basically a shit box. I mean, as good as it is or was or whatever, it’s your point. It’s still a 200 horsepower front wheel drive car that any other car in the year 2000 obliterated this thing.
I can name 12 of them right now to include the E46 M3 and any 911 and just about anything. Is better than this and you could buy one of those used right now for less money or the same, but especially the BMWs, you 46 and threes, you know, they’re starting to gain some traction on the used car market, but you can still buy a reasonably priced BMW from the 2000s and have a way better car.
Crew Chief Brad: Don’t know if it’s necessarily a way better car, maybe a way better driving car.
Executive Producer Tania: Hold on a second. Can’t you buy a brand new Corvette for like 60 grand?
Crew Chief Brad: Yes.
Executive Producer Tania: No. So you could almost, you could buy two almost. Dealer markup. [01:00:00] Dealer markup. Oh, you’re right. You’re right. 60,
Crew Chief Brad: 000 dealer market.
Executive Producer Tania: Right. So you could buy one Corvette for the price of this.
Integra.
Crew Chief Brad: Yeah. I mean,
Executive Producer Tania: someone’s buying this as a collector piece at 6, 600 miles on it. That’s the only reason it’s clean.
Crew Chief Brad: Otherwise this thing
Executive Producer Tania: is worth move the decimal point a couple of places over.
Crew Chief Eric: Yeah.
Executive Producer Tania: Yeah.
Crew Chief Brad: 30, 35 grand when they were, which was actually a lot of money in 2000,
Crew Chief Eric: I wouldn’t have paid that then.
I mean, it, I don’t know. I I’m wrong. I know. I know I’m wrong, but I don’t know, but you know, speaking of, you know, of wrong. Toyota builds autonomous self driving Supra.
Executive Producer Tania: Why? They built it to test their autonomous driving capability, which is pretty cool actually when you consider what they’ve done, is they are autonomously drifting a car around a course.
So it does know where the barriers are. But it doesn’t know how to navigate the barrier. So it navigates them drifting. So it’s still [01:01:00] able to negotiate the changing speeds and the changing traction by itself. So in terms of their technology capability, that’s pretty cool.
Crew Chief Brad: How many pedestrians did they avoid?
Executive Producer Tania: Well, they didn’t hit the barriers. But
Crew Chief Eric: I love that. We’re excited about this. But isn’t this the same thing Audi did like five years ago with the TT where they made it run on track at full speed with nobody driving it?
Crew Chief Brad: But driving under control was different than driving. Yeah. I mean,
Executive Producer Tania: they just, they just did a thing at the consumer electronics show too, where college kids or whoever they were, they took the indie cars basically, and they made himself driving around the oval or whatever that they had set up.
In Nevada. So it’s like, okay, but they had a fixed course. They weren’t trying to drift. They weren’t trying to be on the edge of traction and control. Right.
Crew Chief Brad: I would rather be on a racetrack with this than Andrew Bank and four is a seven any day, [01:02:00] just going to I
Executive Producer Tania: mean, they’re not saying this isn’t about like, Oh, the new super is going to be autonomous and you’ll be able to like drift.
No, that’s not the point. It’s just, yes, they use the supra to do this. It’s a testing apparatus for them to test autonomous driving and not just beta test it with people driving through San Francisco.
Crew Chief Brad: Have they done this with a Camry? We wouldn’t be talking about it.
Crew Chief Eric: I mean, I’d still like to see a Camry drift.
I think that would be pretty exciting.
Executive Producer Tania: I mean, if you read through the article, apparently someone’s already done this with a DeLorean.
Crew Chief Eric: I did see that. I mean, that’s pretty, that’s pretty cool. Come on. The fact that a number, because you know why it’s cool? The fact that it was capable of drifting. There you go.
Because a DeLorean weighs like 9, 000 pounds and makes like a hundred horsepower. Those things are like terribly underpowered. I know that’s an exaggeration, but if you look at the power to weight numbers, not to go back into that math lesson around the DeLorean, it is terrible. Like, it was not a joke in that movie.
It struggles to get to 88 miles an hour. The top speed on a DeLorean is like [01:03:00] 106. And I think it has to be going downhill with a semi truck pushing it because it just, it’s so pathetic. Granted. I love those cars. I think they’re fantastic. I’m not, I’m not hating on them. I am still waiting for my EV version to come out, but you know, it’s all good.
But speaking of flux capacitors.
Executive Producer Tania: Apparently there’s a recall on Hyundai’s and Kia’s anything from 2016 to 2018, the Santa Fe’s, the face sports, the Tucson’s, the Kia’s in the same year range, even a little bit older, 24 to 2016, their sportages are all being recalled because apparently there’s a defect in the, uh, anti lock brake system and something short circuits.
And essentially they can turn into flaming balls of fire. And so it’s being and so it’s being suggested strongly recommended that you not park your vehicle inside a garage or anywhere that could light your house on fire, as that is a potential. However, it is still perfectly safe to drive these down the [01:04:00] road.
This
Crew Chief Eric: is becoming more common. Have you guys realized almost every month, even over the last course of Season 2, we’ve talked about Chevys that could spontaneously combust. There were Toyotas, there was the Chryslers, the Hyundais. It’s all a plot.
Executive Producer Tania: It’s all a plot. It’s all a plot about the dangers of gasoline cars.
All they do is spontaneously explode all the time.
Crew Chief Eric: In the combustion chambers. You’re right. They spontaneously, yeah, nevermind. You know, I mentioned earlier about spotting cars in the wild, the Ford Taurus X and the Maverick were not the only things I saw on the road. I did see some interesting JDM cars.
As I mentioned, I did see the Corolla sport hatchback. I thought it was really cool. Got to see that several times. That guy was easy to spot in traffic every day. And then. I actually noticed something out of the corner of my eye and I sped up to take a look at it because I’d never seen one before and I thought it was another Toyota Corolla hatchback, but actually it was the Hyundai [01:05:00] Elantra Sport.
And if you haven’t seen this car, it’s like Better than the Veloster, not maybe performance wise, but it’s more of like a GTI. I thought it was a good looking car. I was like, man, Hyundai’s really putting out some neat stuff. We’re not hearing about it. Or maybe we’re just not in that, that circle, you know, of Korean cars and whatnot.
But I kept looking, I kept looking, I was like, man, that’s the coolest, GTI that Hyundai’s built yet. So anyway, yeah, the Hyundai Elantra GT sport,
Crew Chief Brad: there’s an inline version as well. Like, like an, in a GT, that’d be kind of cool.
Crew Chief Eric: That would be kind of cool. And the Veloster N is a neat car. I mean, uh, the looks you got to get used to, but performance wise, I’ve said it before.
It’s a really good performing car. It’s surprisingly good. I think it would be a hard toss up for me between that and the Elantra. And the Civic Turbo, the Civic Turbo is a much bigger car, but the Veloster N is actually a really capable vehicle. But you know what else I did see on the road? I saw the newest Prius.
Very angular. [01:06:00] I don’t understand it because the previous Priuses, they weren’t beauty queens by any stretch of the imagination. But what I don’t get is the back, like they took the previous Prius and it’s like they just grabbed it and squeezed it and yanked it and stretched it. And it’s just like, you know, when you watch a kid with a marshmallow and it begs the question, why do they have to continue making it look so strange?
Why can’t the Prius just be? The Corolla sedan with an EV power plant in it, like with maybe some, I don’t know, different wheels or something. Like, why does it have to look so weird? It stands out. Maybe that’s the point is people get people to go. Ooh. Ah, now there was another what I’d like to call Asian car on the road that I saw that I don’t understand.
And I say it’s Asian because it’s made by Tata and Tata is an Indian company. And it was the Jaguar. I pace EV 400. I honestly felt like I could drive. underneath of it. It was the back end was so tall. [01:07:00] The rear glass was so short and so angled in that sort of like, uh, what do they call it now? The Atlas or whatever sport back thing where I don’t even know why I had rear glass.
It was, it’s bizarre. Glad somebody bought one good for Jaguar that does things out there.
Executive Producer Tania: That
Crew Chief Eric: back is
Executive Producer Tania: like a nice bench.
Crew Chief Eric: Yeah, you could definitely sit up there, but it’s also flat like a wall. You can
Executive Producer Tania: eat your lunch on the back of it. Real nicely.
Crew Chief Eric: Oh yeah. Nice. Yeah. Yeah. The birds will perch up there and poop down the side of it.
It’ll be perfect. So that wraps up our JDM news. So now we need to move into Brad’s favorite section, lost and found. So what do we got this month?
Crew Chief Brad: I wanted to go ahead and go back to cars. com and see what the oldest. They have categorized brand new vehicle you can buy is right now on the market. And as of today, you can purchase a brand new, again, it’s categorized as brand new, 1988 Cadillac DeVille base [01:08:00] for a whopping 18, 000.
Crew Chief Eric: What?
Crew Chief Brad: Yeah. There’s no picture. You know, we should send John to VC to this dealership because it’s in his. Tome town. Oh, gray Chevrolet and Stroudsburg PA. Uh, another quote unquote, brand new car that they’ve listed is a 2005 Ford GT. If anybody remembers, that’s when they brought back the GT the first time it’s got the, uh, the 5.
4 liter motor from the Ford lightning, obviously souped up with a supercharger and all that good stuff, uh, with a bigger supercharger and all that 450 grand, it’s a steel.
Crew Chief Eric: And it’s low mileage because it. Never ran.
Crew Chief Brad: Oh yeah. This is Jeremy Clarkson’s own. So it never ran. So no, it’s got 13, 000 miles. So that’s actually probably high mileage for one of these cars.
Crew Chief Eric: It’s like, uh, some guys used to say, you know, you never buy a Jag that doesn’t have high mileage because you know, it didn’t run.
Crew Chief Brad: We’ve got, put it in the bank. I tried convincing Andrew to buy this car. [01:09:00] He was not interested, sadly. I think he really should. He could use it. There is the cheapest Dodge Viper GTS on the internet right now.
It’s in Albuquerque, New Mexico for 16, 000. It’s a 2002 Dodge Viper GTS, basically back end. It starts at the windshield and goes back, but there’s no motor. There’s no anything with this car. I mean, there’s an exhaust. Yeah.
Crew Chief Eric: Yeah. There’s like a bumper or. Something this
Crew Chief Brad: is like a, what, what were those model kits that the Tiesto model kits or whatever they were,
Crew Chief Eric: it’s going to need a windshield though.
That’s a 100%.
Crew Chief Brad: I love that. You’re looking at this and you say it definitely needs a windshield. I love that you focused well, I want to leave. I want to leave
Crew Chief Eric: something to the audience’s imagination because you definitely need to check this out in our show notes because, yeah, I definitely would not put this in the bank.
That’s for sure. I would save my pennies. I [01:10:00] might almost buy that Chevy Spark instead of this Viper.
Crew Chief Brad: But if any of our listeners are on Instagram, please DM to the bank and make sure you DM this ad and let him know that it is still for sale and he should buy this because he does not have enough Dodge Vipers as it is right now.
Crew Chief Eric: Thousand percent. And if you want to learn more about that, check out this month’s episode with Havoc Performance, all about Vipers and Andrew and his Vipers.
Crew Chief Brad: Oh, yes. There is a geo Metro. Oh, our favorite car. Yeah. This is a fan favorite here at GTM. This one’s kind of special because it takes two fan favorites.
It takes the geo Metro and it takes the LS conversion and it puts them together. So yes, there is an LS swapped geo Metro. Sadly, it’s not the convertible that would have been too perfect. I was going to say Jalopnik has the Volvo wagon. We’ve got the LS swap, geometric and readable.
Crew Chief Eric: I want to know, is it still a [01:11:00] geo with the Chevy badge or is it the Aveo?
Is this that weird period? But none of that’s important because it
Crew Chief Brad: is a geo with the Chevy badge,
Crew Chief Eric: but what is important is when I scrolled down to about the third picture and you see the view from the trunk, I, I just, I’m speechless. I don’t even know how this works. Let me describe it for the folks that are going to be like, you know what?
I’m not going to waste time looking at the article. Think of it this way. The motors in the trunk. And it’s in their transverse and it’s still an LS. I, I don’t understand any of this.
Crew Chief Brad: Yeah. I don’t think they ever mounted an LS motor transverse in any vehicle.
Crew Chief Eric: I’m trying to think what transmission this, I mean, I I’m spending way too much.
Mental effort on this that is necessary.
Crew Chief Brad: It does have an automatic transmission though. It comes with the 40 ADE from a Cadillac. So I don’t know, I don’t know how they made it. That maybe a custom bellhousing, Andrew bank, please buy this car to park it on top of your Viper.
Crew Chief Eric: Oh, this is the best part. This car [01:12:00] is listed for sale for a 7, 000 firm.
Price. I know what
Crew Chief Brad: I have. Okay, okay, okay, okay, okay. All things considered, I would almost say that this car is worth buying it for the motor itself. Except it’s just a 5. 3 liter. It’s not the, not the six liter.
Crew Chief Eric: Okay, let’s back it up for one second before we move on. I want to know the conversation or the bet.
Or what that started this. Like, who literally said, I got an idea, pour LS and that geo up in the backyard. To waste the time, and the resources, and the effort, and all the custom fabrication. I mean, unless this guy was bored. I don’t understand.
Crew Chief Brad: Daniel, are you listening?
Crew Chief Eric: I can build it myself. I can build it better.
Crew Chief Brad: Daniel, you need a motor for that BMW you bought.
Crew Chief Eric: With all that said, I think it’s time we move on to random new EVs and concepts. And first up this month is an Alpha Wagon, but this is an Alpha. A L F a as an alpha remail. This is [01:13:00] alpha as an a L P H a, a brand, none of us had ever heard of before. So continuing on this whole thing that’s been going on for the last couple of years in boutique brands, here’s yet another one to the list, the clickbait got me at the wagon part, and then when I opened it, I.
I didn’t read it and clicked the close tab as fast as I could. This thing is terrible. I think it’s
Crew Chief Brad: awesome. What? Looks wise. It looks like a wagon Scirocco.
Crew Chief Eric: It looks like I took it and bent it over my knee. I mean, what is
Crew Chief Brad: this thing? I love the fender flares. I love the back end. I love the profile of the whole thing.
Sign me up. Oh, I love the off road version down below. The stubby tires.
Executive Producer Tania: There’s worse things than this. I think it could be cleaned up. A couple of lines could be cleaned up on it. The side profile reminds me of like something from decades ago of Volvo, maybe, I don’t know. Something.
Crew Chief Brad: For the corners, it does remind me of something [01:14:00] old school, but it looks really cool.
Yes. It looks like, yes, I see. It’s curved
Executive Producer Tania: the surfboard on the top. That’s curved. It follows a curvature. You can tell it bent.
Crew Chief Brad: It’s just coupe.
Executive Producer Tania: They need to pull the nose forward. So it doesn’t triangulate back. That’s what’s drawing the line weird because that’s not even a very steep hood compared to
Crew Chief Eric: no, it’s not.
I mean, the back is reminiscent of some older Aston’s in my opinion, from the side, from the straight. Straight on view of the back. It’s just kind of blah. I mean, it has those four round lights, like an old Ferrari. It has inspiration from different vehicles, but I don’t know that we needed to marry an Outback with the Ferrari station wagon and whatever that front end is off of, uh, you know, off of a Dasher, it’s never going to get built.
Let’s be serious. Who the hell is Alpha that isn’t Alpha or a male?
Crew Chief Brad: Well, before we move on, I will say Alpha is taking [01:15:00] reservations for this car. What dealer network? The same dealer network is tesla www. alpha. com probably.
Executive Producer Tania: Well, if you’re interested in, in other EVs that aren’t cars, but trucks and other workhorses, if you will, there’s a car and driver article that goes through a long list of other EVs that we didn’t even know were coming.
So there’s a bunch of different. Buses or vans, things of that nature. Apparently, Amazon has a deal with Rivian delivery trucks.
They’re so cute.
Executive Producer Tania: And they’re very futuristic. They’re very cute looking. There’s even Honda has a work vehicle. That’s it looks like they look like the things that run around the airports.
I don’t know what you call those, but the little guys, the guys drive them, pull in the luggage and all that kind of stuff. The interesting one on here too, is the John Deere autonomous tractor.
Crew Chief Eric: That looks like a Pokemon. Like, I was like, what is this?
Executive Producer Tania: Looks so weird. It’s got like alien thing coming out the front.
I don’t know. It’s
bizarre.
Executive Producer Tania: There’s some [01:16:00] off road snowmobiles, the Polaris. It’s got an Eevee, which just sounds frightening. It looks like they’re out in the Arctic. Hate to have that battery die.
Crew Chief Eric: The Polaris, they didn’t do a whole lot. They put an EV in an existing Polaris and it’s like, all right, no, yeah,
Executive Producer Tania: it looks like any other one.
And then the, the last one is interesting is the freight liner tractor trailer. It looks like it’s out of Tron. That
Crew Chief Eric: thing is awesome. I know it’s an appearance package, but I’m in love with that tractor trailer for the Tron livery. That’s on it. I think it’s cool. I will say I was delighted to see a brand returning to the list.
We talked about them last month and that’s our friends over it. Canoe. Yeah, they have it. MPDV, whatever that stands for. This is a vehicle that I built when I was five years old outta Legos. . It
Executive Producer Tania: does
Crew Chief Eric: one brick and four wheels.
Executive Producer Tania: It does. It’s a very, it’s very utilitarian. I like delivery truck, I guess is what you would use it for.
I mean, it could be a lifestyle vehicle, it could be a [01:17:00] minivan or, or light duty. So
Crew Chief Brad: it, yeah. MPDV is multi-purpose delivery vehicle. Give it some, some knobby tires, lift it a little bit. And
Executive Producer Tania: there you go. Take it off road, hashtag, you know, van life, take a camping. Speaking of utilitarian vehicles. So we’ve talked about before Bollinger, another, you know, off brand that nobody’s ever heard of.
And they were coming out with the B1 and the B2. And basically it looks like really utilitarian Hummer. The pickup truck’s not any better. Well, apparently they’ve pulled the plug on this. And they won’t be bringing these to production as they said they would. Instead, I guess they’re kind of shifting their focus to the platform that they develop.
It’s not clear who they might be partnering with, I guess, whatever this platform they’ve developed is at least good enough to have that keep going and partner with other people. So they’re going to focus on that side of the business versus. You know, designing this horrifically ugly SUV and pickup [01:18:00] truck.
Crew Chief Brad: And this is what I used to always say that Tesla should have done is they should have designed and perfected an electric vehicle platform and then sold it to all the other manufacturers to put their own body on top of
Crew Chief Eric: that’s the same model that Mercedes did with the sprinter vans and why they sold them to everybody under the sun and why there’s a freight liner and a Dodge that.
That’s the model. And I think that makes sense. We just talked about these vehicles last month, you know, hot to trot on the EV list of EVs to get, and now it’s already dead. I became completely disenfranchised and I went straight to the comments looking for some levity in all of this, and I found that my favorite troll post thus far, which is don’t feel bad about the loss of the B one and the B two.
If you really want one, just check out your local Lego store. For 39. 99 plus tax.
I very much enjoyed that. So that made the article that much more worth it. But
Executive Producer Tania: sadly, Bollinger B2 pickup or Cybertruck? [01:19:00] I’m leaning towards this Lego truck.
Crew Chief Eric: You know, I have to agree with you on that, but there’s something else I would lean completely towards and I think that’s the new Rivian
Executive Producer Tania: that is a handsome and you know, me, I’m not a fan of pickup
Crew Chief Brad: trucks question for you, which one are we going to see first, this that we already know is suspended or.
The Cybertruck, which one has production first?
Crew Chief Eric: Ooh, it’s hard. That’s hard to say. The Bollinger has regular windshield wipers. So, you know, it might come out first. It has three of them. It’s got an extra one. That was
Executive Producer Tania: their mistake. That’s why they’ve had to pull the plug on this. One extra windshield wiper.
Crew Chief Eric: We want to talk about the Rivian other than the way it looks.
Executive Producer Tania: I think it’s a handsome little pickup truck. I mean, I think it does a good, it looks like a pickup truck and that’s what I kind of want to see with these electric pickup trucks. I want them to remind me that it’s a pickup truck, [01:20:00] not an N64 game, but then it changes the style enough with the front and the lights that it has that futuristic, EV vibe to it.
Crew Chief Eric: I like it, but I like it in the same way. I like my Jeep in that it looks like a little hippopotamus and that’s okay because it does right with this big, those big nostrils in the front. It looks like a hippo, but that’s okay. It’s proportioned. Well, what I think is deceiving about the pictures. is that this is probably the same size as the maverick.
I could be wrong. I don’t think it’s a 1500. I think it’s slightly smaller. And if GM is involved with Rivian, this might be like a Jimmy might be that smaller, the S10 or the resurgence of the S10 or something like that. I’m okay with all of that. But to your point, I like it as well. What bugs me though, Is this latest ad campaign on the Rivian site?
Because it feels like we are [01:21:00] following in the Broncos footsteps talking about the goat modes and all this stuff and the eight modes and the trains and this and that. And I’m like, let’s just sell a truck.
Executive Producer Tania: I didn’t take it that way. I thought it was an interesting video because I think, okay, Bronco Ford, they’re doing it for their goat mode, but I, Think to some extent, someone making electric pickup truck has to come out with a video like this because everyone who is a pickup truck enthusiast is gonna be like, what a piece of crap.
You’re not going to take that off the road with electric motor, blah, blah, blah. And they have to demonstrate. Right. And they’re not doing anything really. Wild from a lay person’s perspective, you know, Brad, you’re can correct me because you’re more off road. I think it’s showcase. Well, that it’s going to be competent in different types of terrain.
And I think they need to do that. I think they need to show that to people.
Crew Chief Brad: Yeah, it shows that it’s as good off road as any other standard pickup truck. Major altercations or any one kind of impressive thing is when it does a little bit of rock crawling, just because of the, I guess the [01:22:00] approach angles are that of, you know, very similar to a Bronco or a Jeep, at least on the front, the back end departure angle is not very good because the bumper hangs off so far.
I agree with Tanya. It’s to put the naysayers to rest before they can.
Crew Chief Eric: I’m going to put it this way. When Tanya decides to go test for drive one, I will go with her and it will be a pleasant experience, but you know what, it’s not going to hold a candle to the next car on our list that we want to talk about.
That, Hey, that’s a little mountain goat. It’s big, bad granddaddy is this Land Rover defender that has been converted to an EV. And I know there’s a lot of people that are against doing that. This is a classic, you know, kind of old school defender. This thing is bad ass. This is. The off roader of off roaders right here, right?
You can still fix with a spoon and a dull knife. This is cool. You got to check this article out, guys. I mean, it just looks awesome. It is awesome. I mean, if you’re a fan of Landy’s, this is the way to go right here. I don’t see any fault with this.
Crew Chief Brad: [01:23:00] You, you aren’t totally wrong being able to fix it with a sharp spoon and a dull knife because you can fix the Tesla power plant at Home Depot with some copper wire and And, you know, a classic tub and some, some wood bits.
Crew Chief Eric: Now this is a Tesla conversion. So you can pull up to any Tesla charging station and all that kind of thing. But this is really cool. You know, if you ask me, I would rather spend the kind of money that people are spending on converting old Aston’s and stuff like that, you know, to Evie on something like this and the interior, this thing is beautiful.
Executive Producer Tania: This is 300, 000.
Crew Chief Eric: Again, for the money that is being spent. You could
Executive Producer Tania: get a Ferrari SUV in two years
Crew Chief Eric: and a Corvette, even with the mark of church, but it’s not a Landy and this thing’s pretty bad ass. You
Crew Chief Brad: could
Crew Chief Eric: buy
Crew Chief Brad: 20 Chevy Sparks. All right. Well, we would be remiss.
Executive Producer Tania: Dun dun dun.
Crew Chief Brad: This is a great segue into we would be [01:24:00] remiss, I would say.
Yes.
Executive Producer Tania: So speaking of Tesla Motors. And we alluded to this, I think, last month when we mentioned how suddenly you couldn’t put place orders anymore on the Cybertruck and whatnot, but it has now been officially confirmed that there will be no production in 2022 of the Cybertruck, the Roadster, or the Semi.
They are going to apparently be focusing all their attention on full self driving that’s going to be quote, better than a human.
Crew Chief Eric: Asterix and Elon’s new rocket so he can go into space.
Executive Producer Tania: Which is ironic when the news this week has been showing footage, I guess it was finally released of a Tesla crash from I think like a year ago where it got confused by the police blinking lights and it just sideswipe a cruiser that was parked on the side of the road, nearly taking out the two officers that were standing next to it on the side of the road.
Mind you, a lot of damage,
Crew Chief Brad: anybody out there that’s looking for a cyber truck. I have for sale a day one [01:25:00] reservation reached to me with the, your best offer. No 1, what I have 1, 1. No, it has to be at least a hundred of those.
Executive Producer Tania: So on your, uh, pre order that you placed on your cyber truck, let’s pretend one day you actually get it.
Are you going to try and see if you can get a little add on feature to it? A little bit of, uh, A little bit of mood setting in your Cybertruck as you’re cruising down the road.
Crew Chief Eric: Yeah. Yeah. Brad, are you gonna, are you gonna play with your butthole? I think you mean tickle and no.
Executive Producer Tania: So you would not be interested in, in the turn on butthole.
I mean, sorry, turn on Tesla mic feature. That, uh, can be offered with your Tesla and turn your car into a karaoke machine.
Crew Chief Brad: Have you all heard my voice? I do not have a voice for singing or karaoke. So no, I know you’ve got that deep
Executive Producer Tania: baritone.
Crew Chief Brad: Yes, yes, but not quite.
Executive Producer Tania: He could have a barbershop
Crew Chief Eric: quartet in his Tesla.
So that’s, that’s perfectly perfect. [01:26:00] Yes. He’d be back there. Boom, boom, boom, boom, boom. I
Executive Producer Tania: mean, apparently like we’re just. Play to the party here. It’s not offered in the U S this is something offered in China. Software update feature or something, something, something like that. And you can order special microphone with Tesla written on it.
And then, yeah, apparently you can karaoke in your car. I have nothing against karaoke. It’s very fun. I. Don’t know why you would be driving down the road and karaoke because that implies a lot of times you’re reading the lyrics to songs that you’re less familiar with because you can karaoke already in your car without a microphone.
This is
Crew Chief Brad: needed because Tesla owners. Realize that the last thing they want to actually do is drive a Tesla. So they try to do everything else under the sun. So they don’t have
Crew Chief Eric: Tesla’s also celebrating an anniversary, right?
Executive Producer Tania: Yes, it is. And not being under the sun, but sort of around the sun.
Crew Chief Brad: Around
Executive Producer Tania: hundreds of millions of miles away, I [01:27:00] guess, but closer, the roadster was launched this week, four years ago, so the roadster and spaceman are still out there orbiting waiting
Crew Chief Brad: for service at their
Executive Producer Tania: waiting to be crash landed back, I guess, eventually, I don’t know, there’s nothing useful.
No useful information to gain by like, I think positioning any telescopes or anything, like check what this thing is doing. So nobody has so, but they are speculating that it’s probably been like wrecked a few times in the sense that like asteroids or other meteors or objects have like hit it.
Crew Chief Eric: I don’t want to see that.
Executive Producer Tania: I know. So now I’m like, can we please turn a telescope in his direction or something? Can we see if there’s like door panels missing or the spaceman is what if the spaceman
Crew Chief Eric: has like no head? He’s just, oh my
Crew Chief Brad: gosh. So I can’t tell you what it looks like right now, but I can tell you where it is. [01:28:00] And it is 234, 675, 760 miles from earth.
Moving away from earth at a speed of 2, 455 miles an hour. And it is 197, 769, 713 miles from Mars.
Executive Producer Tania: Technically, I guess it has a record of most miles traveled. Cause it’s traveled like 2 billion miles.
Crew Chief Brad: I’m sorry, Porsche, but it also has the elevation, the longest elevation change. So you lose again to Tesla.
Oh, but I will say this car is no longer. Within it’s 36, 000 mile factory warranty. So if you have to replace the battery, you might as well just blow it up.
Crew Chief Eric: Did they shoot it into space with the hazard lights on? Cause that would have been so awesome. Just like blinking
Crew Chief Brad: away. No, but the radio was playing, you know, David Bowie.
So
Executive Producer Tania: pretty sure that cut out. Couple of years ago,
Crew Chief Brad: I was going to say cut out when it left the [01:29:00] atmosphere.
Executive Producer Tania: Exactly.
Crew Chief Eric: Well, my expectations have been thoroughly lowered. What else is in the news?
Crew Chief Brad: I do have one expectation that I want to explain. It’s a more of a PSA about the Jeep grand Cherokee. I think last month I panned the way that new Jeep Grand Cherokees look saying that they were too long and they look stupid and I didn’t like them or whatever.
I will say that I have seen more of them on the road and the more that I see the new Grand Cherokee granted, I’m not talking about the Wagoneer. I think I’ve only seen one Wagoneer on the road. But I have seen several of the grand Cherokees and I’m coming around on their design. I’m starting to like them more.
I’ve seen them in different trim packages, a little bit bigger wheels, some knobbier tires. They definitely look, I’m starting to come around on design. So yeah, you’re, you’re right. I
Crew Chief Eric: mean, After a while of seeing so many Geico caveman commercials, decided that he was charming and cute. You know, it’s the same thing with the Grand Cherokee.
It’s got this [01:30:00] weird, it’s the grill because it bends back in on itself. It’s, I don’t know, it’s odd. Like, it hasn’t grown on me yet, but then again, I’ve seen a bunch of them in the wild. I mentioned it last month when we talked about it. I almost wish that the Cherokee nation had come through and said, do not call this Cherokee because I don’t feel it should wear the badge.
Right. It feels like it’s a step away, especially with the three rows. It should just be the Wagoneer. Like, I don’t know. It’s my personal opinion,
Crew Chief Brad: but they should just bring back the commander name. That seems to be what a lot of people are doing when they move from Native American.
Crew Chief Eric: Yeah, exactly. Now, the other thing I did see.
To your point about the Grand Cherokee, I also happen to see the new Cherokee on the road, kind of the smaller version. They’ve made it bigger. It’s more like the old Grand Cherokee, not nearly as big. It’s not bad. It’s proportioned well. They got rid of the, you know, the three headlights and all this crazy stuff that was going on.
They continue to refine it. They’re playing a [01:31:00] little badge engineering, I feel like, but we’ll see what happens. Who knows, right?
Executive Producer Tania: You ever get tired of driving in traffic, just wish you could, you know, have a helicopter, just zoom to where you need to be, avoid all the congestion? Well, look out, another disruptor on the way, thinking EVs are the future.
Well, what about The air car. No. What about a car that transforms into a small aircraft? So you can take off, take flight, get to your destination, land back down, convert back into a car, and drive that final distance.
Crew Chief Eric: How many times is this idea Going to come up in the history of the automotive world and never get off the ground, like what they’ve been trying to since the sixties,
Executive Producer Tania: it’s been successful because it has passed the Slovak transport authorities flight testing in Slovakia.
Oh, that testing is equivalent, just for [01:32:00] anybody who’s in doubt, equivalent, sorry, compatible with. The European Aviation Safety Agency standards. So we’re on to something here.
Crew Chief Eric: How big is the no fly zone in Slovakia?
Executive Producer Tania: Also, this thing is powered by a BW engine. Does that change your mind?
Crew Chief Brad: Yeah. Cause then it will fall out of the sky halfway through your flight.
Well, we know it’s an inline motor, so we’re good there.
Executive Producer Tania: Sad enough, driving and having to worry about the person next to you, the person behind you, the person in front of you, the deer that could run out. And now you have to worry about. The person above you, I mean, this is great reason to have a moon roof so that you can be constantly checking above you to see if an air car is going to fall on your head.
Crew Chief Brad: Well, when we get a little further into this episode, we’re going to hear more about you having to work people above you anyway, but I’m looking at this and I’m wondering how does it convert? Where are the wings? I
don’t get
Crew Chief Brad: it. It’s a helicopter. It’s called a helicopter. And I see a picture of it without [01:33:00] wings, but I don’t see.
You get
Executive Producer Tania: out and
Crew Chief Brad: you pull the
Executive Producer Tania: panel off and then it has a track that you slide it in the back in the trunk.
Crew Chief Brad: Yeah. I trust an aviation device that I’ve. Put together. Yes, that’s exactly
Crew Chief Eric: what I want. It’s just like those guys in Japan, where you see them walking away from the train station with their 11 by 17 briefcase and it suddenly turns into a mountain bike.
There’s nothing else in the briefcase. I don’t know where the wheels were stored or anything else, but it’s just like that.
Crew Chief Brad: It’s just like that, except it’s nothing like that. A hundred percent.
Crew Chief Eric: But here’s what we’re going to do. We’re going to retire this thought. We’re going to put a pin in it and we’re going to invite our guests to jump on a special Patreon minisode, where we continue this conversation completely unfiltered for your enjoyment to not suck up the entirety of the drive thru.
We implore you to jump over to patreon. com forward slash GT Motorsports to continue that conversation. Well, I think it’s time [01:34:00] that we move on to rich people thangs.
Executive Producer Tania: I don’t know if this is really. Rich people fangs, but we’ve lumped it under this category for anyone who is a fan of Lego, which, okay, I mean, some Lego sets are definitely a rich people thing, but they have a speed champions line in the Lego brand, and they’ve come out with a new lineup in 2022.
So if you’re looking to add to your collection, this year will be releasing the Lotus Evija. The Lamborghini Kunta in 1970. Ferrari five 12 M. The Mercedes A MG F1 W 12 E performance alongside the Mercedes a MG Project. One, I think that’s two in one set. And then the Aston Martin Valkyrie a MR Pro, along with the Aston Martin Vantage, GT three in one set together.
Crew Chief Eric: That’s a heck of a lineup.
Executive Producer Tania: These range about 20 for the single, but the, when they’re in the two pack, it’s 30 or
Crew Chief Eric: 40. I forget the scale. Like [01:35:00] they’re almost like one 24th. So they’re about six, seven inches long, not as big as a one 18 scale car. So it’s actually a good size model. If you’re not interested in, you know, die cast or anything like that.
And if you want to play Legos or whatever, it’s, it’s pretty cool. I have a couple of myself. I haven’t unboxed them yet. They are pretty neat. I’m glad to see that Lego is putting some more attention and effort into supporting the motorsports community with Legos. I think that’s pretty neat.
Executive Producer Tania: So the other rich people thing, which I definitely opinion rich people thing or not, I think it is cyber quad for kids, cyber.
What? Huh? Tesla. Yes.
Crew Chief Brad: Cyber wad
Executive Producer Tania: quad four wheel ATV. And it’s. Cyber. So it’s got the look of the cyber truck. So it’s the cyber quad and obviously it’s battery powered electric. It’s got the lithium ion battery, has 15 miles of range, top speed of 10 miles an hour. It’s suitable for eight years old and up.
These are no longer available. They’re out of stock right now. I think they just started.
Crew Chief Eric: In stock?
Executive Producer Tania: They were. They were. [01:36:00] They started shipping out at the end of 21 in December. So I believe people have already started receiving them. You can actually go on eBay. People are already trying to resell them for more.
But what do you think this costs? This Power Wheels?
Crew Chief Eric: Power, power, power wheels. How many Dogecoin do I need to spend to buy this?
Executive Producer Tania: You say that, but the item number on this is 14135 Doge.
Crew Chief Eric: So then it’s, it’s 1400, 135 Doge. That’s how much it costs.
Executive Producer Tania: Okay. Well then I guess the equivalency in USD is 1900.
Crew Chief Eric: What?
Actually for a quad, is that right on par, Brad? What do you think?
Executive Producer Tania: No.
Crew Chief Eric: No? What’s a quad cost these days? Yamaha or something. What do they cost?
Executive Producer Tania: So the top one to get the Razor, I believe, the Razor Dirt Quad, which does also does 10 miles an hour is 700.
Crew Chief Eric: Wow. Okay.
Executive Producer Tania: And it’s an electric ATV.
Crew Chief Eric: That’s a bit of a dealer markup there on that.
Executive Producer Tania: So I’m not sure what you’re for 1, 900 that you [01:37:00] couldn’t get. in the razor.
Crew Chief Eric: Well, you’re getting the actual cyber quad.
Executive Producer Tania: I mean, okay, you’re getting a Tesla product for your kid.
Crew Chief Eric: So I want to know how the wiper blades work on this.
Executive Producer Tania: We have wiper blades.
Crew Chief Eric: Oh, perfect. Excellent. Excellent.
Executive Producer Tania: It doesn’t need them. It doesn’t have a windshield.
Crew Chief Eric: So on our special breakaway minisode of this particular drive through, we talked about all sorts of crazy people and driving in the city, but I think we have to return to our normal crazies down in Florida.
Executive Producer Tania: You know, in defense of Florida, we love you just as we love every state. I did try to find news out of other states.
I tried really hard. I looked through a lot and unfortunately, once again, A lot of the good stuff’s coming out of Florida, you know, I can’t help that. Okay. Can’t hold me responsible for this completely. It’s not all Florida news. I’m going to save. There’s some good ones that have not come out of Florida, actually not come out of the United States, spoiler alert.
So we’ll get to those. But we’ll start with this guy, [01:38:00] you know, this is like the stupid criminal file. Like you clearly have done something wrong because you have an ankle monitor and you’re out and about in the red side by side. And then you start knocking on people’s doors because your ankle monitor battery is running low.
So of course you need to get that bad boy charged back up. Cause if it runs out of juice, suddenly the alarms are going to go off and popo going to come after you. Right. Well, you know, I guess people started reporting like, Hey, this You know, dudes coming around. Yeah, you know, that side by side stolen. So, uh, yeah, he got arrested trying to charge his ankle monitor up while going around on a stolen.
I’m thinking his original felony was probably also grand theft, but he also
Crew Chief Brad: has an extensive history, including battery burglary and grand theft is stand up
Executive Producer Tania: guy stand up guy. He’s just misunderstood.
Crew Chief Brad: He’s a class act.
Executive Producer Tania: Now this next one also involves some, some grand [01:39:00] theft, but a little bit of a different spin.
So, you know, people like to go out and party and it’s Florida, there ain’t no rules. So, Hey, everything’s open. So, you know, you’re out at the bar late one night doing as you do. Unfortunately, you’ve had a few too many and the responsible person. Would pick up the phone, although maybe they’d use it as a sun visor too many times during the day and, you know, the battery is dead.
I don’t know. You’d call an Uber, get you home. Now, this guy, you know, upon exiting drunk, he couldn’t find his car. And you’re thinking, yes, you shouldn’t be driving anyway. No, no, no. This guy’s a problem solver. Can’t find his car? Let me just steal a car and go look for my car in the stolen car. But while I steal this car, and I believe it was like, what was it?
It was a Honda Fit. So anyway, he steals this car, proceeds to, I don’t know, stall it somehow on a railroad track. And then a train comes along and [01:40:00] the train hits the car and launches it into somebody’s house. And this is that night. So as the picture shows, this car is like up on its tail, smashed demolished by the train inside of this person’s house.
And then he proceeds to run away on foot, vandalizes a fruit cart and then tries to steal.
Crew Chief Eric: Wait, wait, wait, wait, wait, wait, wait, wait. How does
Executive Producer Tania: one vandalize
a fruit cart?
Executive Producer Tania: He vandalized the fruit stand! And then he stole the forklift that was at the fruit stand and tried to get away
Crew Chief Eric: because the money was in the banana stand.
That’s why he’s
Crew Chief Brad: saying vandalized, not sodomized.
Executive Producer Tania: Oh, that’s brutal. But he told the cops. He made sure to let them know that he was looking for his stolen car. It’s
Crew Chief Brad: all good, it’s all good, it’s all good. He
Executive Producer Tania: flags them down to tell them he was looking for his stolen car. So it’s all [01:41:00] okay.
Crew Chief Eric: Where’s my car? It’s because two wrongs make a right, right?
Executive Producer Tania: Oh my goodness. I don’t know where people Too much, too much to drink. That person had apparently not enough. Okay.
Crew Chief Brad: Florida
Executive Producer Tania: people in general, I guess apparently are going to get very disappointed here. Pretty soon because I think up until very recently, Florida is one of the few states remaining that essentially doesn’t have rules around what you can write on your vanity plate. And so now they’re changing their minds on that and they’re going to regulate it.
Might be recalling people’s tags that are already out there and they’ve already denied 500 applications last year, I guess when they started cracking down on bad vanity plates and, and some of ’em, it’s like, okay, clever 2020 WTFF you. [01:42:00] 2020. Okay. Aha. And okay, slow. POS Shitbox was another one like. All right.
You’re just having commentary on yourself. I don’t know. And then they just get a little bit weird. You know, there’s some political commentary ones in there. Then there’s drug man. I don’t think you should probably be advertising for possibly legal habits. Um, that’s marketing, marketing, right? Dead AF. I’m not sure what that is supposed to signify.
I mean, killer. Here’s another one that could be marketing for themselves. Not in a good way. Fat AF. F T B S T R D.
Crew Chief Eric: That’s fat bastard.
Executive Producer Tania: Yep. F K diet. Okay. These people are like personally attacking themselves. It’s very strange. Then the weirdest one. T Bundy. Like, really?
Crew Chief Eric: I
Crew Chief Brad: get this one though. I get it though.
Brown Volkswagen Beetle.
Crew Chief Eric: Yeah, I’m going to give the shout out to the girls over at Sinister Hood. You need to listen to the Ted [01:43:00] Bundy episode or multiple episodes on Ted Bundy. So this all gets explained on their podcast. And that is, that is clever, but also creepy.
Executive Producer Tania: They didn’t say that it went on a brown Volkswagen.
They’re saying how creepy would it have been had the application been on a
Crew Chief Eric: I skimmed, I skimmed. Oh, then I wonder if. Okay.
Executive Producer Tania: Yeah.
Crew Chief Eric: Yes.
Executive Producer Tania: Creepy. So yeah, apparently they’re cracking down on that. So can’t imagine what the other plates that have gone through in the past must say.
Crew Chief Brad: Way to go, Florida. Way to try and fast things up.
Executive Producer Tania: Well, apparently there’s some other states that are buck wild already. So
Crew Chief Brad: there’s a tag idea right there. Buck wild. Buck
Executive Producer Tania: wild. That’s safe though. There’s nothing bad about that. I don’t think. All right. So now we’re going to go north to our Canadian friends and Canada ones are always good, you know, because they always, I think so much better of Canadians.
And then when I see stuff like this, I’m just like Canada. [01:44:00] Okay. It’s not a kid.
Crew Chief Eric: I love Canada. I enjoy visiting there.
Executive Producer Tania: This woman somehow bless her heart. Ends up some sort of frozen water body, I think a river. She ends up on this river in her bright yellow scion, from what I can tell in that picture. But then the ice breaks and so the car starts sinking.
Now, you’d think a sane person would be like, time to get the F O. GTFO this thing. No, no, no. She stands on the back of the car, proceeds to take a selfie, as everybody else is trying to, like, come to her rescue and call police and do whatever. She’s just chillin As her car is sinking, taking selfies.
Crew Chief Eric: I mean, you got to capture the moment.
That’s for the gram, as Brad would say, for the gram. What other time in your life would you get the opportunity to stand on a sinking scion [01:45:00] and take a picture of yourself?
Executive Producer Tania: I mean, you know, this one Twitter person, I think, summarized it pretty well. You know, she captured the moment with a selfie while people hurried and worried to help her.
Crew Chief Eric: Yeah, 100%. They should have just left her there. But then the best part is it’s like inception, right? Because there’s a picture of some other person with their cell phone taking a picture of her on her cell phone doing the selfie thing. So it’s like this cascading failure. For the gram!
Executive Producer Tania: I have saved the absolute best, I think, for last.
I think this has got to be tops. And this comes from our friends across the pond in the UK. Oh, apparently an Englishman’s home is his castle and that pretty much stands up in court as defense. Really? So this man who’s got this estate farmland or whatever, he’s a farmer.
Crew Chief Eric: Not Jeremy Clarkson.
Executive Producer Tania: Fourth generation hill farmer, this man.
Cutting to the chase, he uses essentially a telehandler, so like a forklift, [01:46:00] telehandler with a fork on the front end, so like a forklift, and he flips and pushes some guy’s car off his property that refused to move his car out of his driveway. Watch the video, there is a video of it. This is epic. This dude’s car got like a flat or broke down, asked him repeatedly to move.
The driver, I think, didn’t get into an altercation, but this other dude that was his friend showed up who was drunk and shirtless and like allegedly punched the guy first, which I guess He was like, nope, forklift, telehandler thing. I’m gonna take care of y’all. He pushed it out into the road, turned it onto the side of the road and just like left it there.
Crew Chief Eric: That is awesome.
Executive Producer Tania: And he was taken to court, but the charges were all dismissed because he was protecting his
Crew Chief Brad: Oh, before we move on, did you all watch the end of the video? He hit the guy with the forklift.
Executive Producer Tania: Oh, yeah. Yeah. Well, he turned the forklift and the guy was standing there. Yeah.
Crew Chief Brad: No, he, [01:47:00] he hit the guy with the forklift.
Yeah. The guy was standing there. He knew the guy was standing there and he turned the forklift pretty rapidly. More power to him. You know what? Get off my lawn.
Get off my lawn.
Crew Chief Eric: Well, that being said, I think it’s time that we go behind the for some motor sports news. So what’s going on in the world of NASCAR time?
Not something you usually report about?
Executive Producer Tania: No, um, it’s just something that came across Netflix apparently on the 22nd of February. They’re going to be airing a docu series. It’s six episodes. It’s called Race Bubba Wallace. So it’s a docu series on the NASCAR driver Bubba Wallace. And his NASCAR journey thus far, not really much other information in, in the preview for it, but one can only imagine.
Crew Chief Eric: Well, maybe we’ll have to take a look at it and talk about it in the next drive thru, right? But speaking of other dramas on television, what about Formula One? What’s going on over there, Brad? What’s the big news?
Crew Chief Brad: Uh, All the manufacturers are, or all the teams are releasing their new 2022 cars. I think Haas was the first team to do it.
[01:48:00] And yeah, I mean, all the cars pretty much look the same. They’re all cool. I believe the wheels are bigger. I mean, the tires are bigger than they have been previously. So that should help. So I’m just going to have to wait and see how they perform on in some way, make the racing more exciting. We’re going to go ahead and see.
We always
Crew Chief Eric: say that every year I hear that phrase. We’re going to make the racing more exciting. Has that ever proven to be true
Crew Chief Brad: since Bernie Ecclestone or Ecclestine, whatever his name is, is no longer in charge. And that other guy sports or whatever, took it over. They have made some improvements. And actually this year is the first year where they implemented a lot of different changes, especially to the cars and stuff.
So I think it could be good. Last year they were done. They were playing around at a lot of the races with the sprint races, a qualifying race. I think that was really cool. Inadvertently or without their even trying some of the races ended up almost in like a reverse grid because of red flags and stuff like that on the restart, which was super exciting.
That wasn’t anything that they actually did. It was just kind of a coincidence thing. They [01:49:00] are trying to make changes. Some of them make it more exciting, but it depends on what you’re looking for in racing. Some of our F1 fans hate the idea of the sprint race because it takes away from the actual qualifying and it adds nothing really.
It discourages someone from actually trying to qualify, you know, and have the fastest lap. I’m going to watch anyway. I like F1 racing. I think it’s much more exciting than that bit IndyCar.
Crew Chief Eric: I thought the new Formula cars were IndyCars. They really look. Similar. They, I mean, I’ve looked
Crew Chief Brad: at, they, they look identical, but they’re
I mean, the
Crew Chief Eric: McLaren’s, the Astons. I was like, man, that’s a cool livery on that indie car. You guys got there. I’m like, whatever. But to your point about making the racing more exciting and, and the changes, my hot take on this is if you want the racing to be more exciting, get rid of all this balance of power nonsense.
What the people want, what the fans want is not. Everybody to be the same. This isn’t go kart racing. This isn’t even NASCAR for that respect. And NASCAR, I think should change to let people build their cars. We’re going to talk about here with Rolex. And actually we should [01:50:00] probably maybe transition to Rolex at the same time.
You know, when they did the balance of power on the Corvettes, if you can’t build a car that competes, build a better car, stop penalizing everybody. If you’re hitting, if you’re following the marks of the rules. Build a better car.
Crew Chief Brad: The only caveat to that is I would say institute some sort of budget to keep some of that.
I mean, there’s a huge disparity in the amount of money that some of these race teams have. Like obviously the factory teams like Mercedes are going to have a significant budget compared to a team like Haas.
Crew Chief Eric: Why don’t we split F1 down the middle and do like they did in WRC where it’s WRC1 and WRC2. So there’s F1A and
Crew Chief Brad: F1B.
It’s essentially what it is. There’s the best and then the best of the rest. But that’s an unofficial thing. It’s not official, but yeah, I would, I would agree with that.
Crew Chief Eric: But look at it this way. If it was cheaper for Williams to develop, like they did in the seventies, like a six wheeled formula car and have it be a V12, let them do it.
Who cares? Like this whole cookie cutter, everybody’s got [01:51:00] the same car with different skin on it. It doesn’t do anything for me. This is why I stopped being interested in Formula One, was right after the V10 era, where all the cars were basically the same. And during the V10 era, it was, it was still different enough.
Ferrari still had their motors. BMW had their motors. Renault had their motors. They were all different enough. And they perform differently. Some were better than others to your point Ferrari has deep pockets, you know, things like that. But once they decided to make all the F1 cars, cookie cutter, I’m done.
I checked out. I don’t care. I see that in a lot of other racing and it, and it hurts me because I think it takes away, From the technological progression, it takes away from the ingenuity, it takes away from the originality. And when you’re looking at the cars, you’re like, well, what’s the difference between the Aston and the Honda?
There should be a clear delineation between what they are and what they’re capable of, not the same thing.
Crew Chief Brad: Here it is. It’s this, there is a team spending down to 140, 000. 40 million from 1 7 5 in 2020. Oh damn. Is that [01:52:00] all to, to help level the playing field for smaller teams like Haas, as they go up against outfits with relatively unlimited resources like Ferrari and Mercedes and Red Bull, which used to spend upwards of 400 million annually.
So yes, they’re instituting that as well as all these other changes to kind of more,
Crew Chief Eric: here’s the underdog story, right? Ferrari spends 400 million and they get their butts handed to them by Williams, who can only spend 1 75. So who cares? Let them spend. A billion dollars if they want to, but build a better mousetrap, figure out a way to do it.
And you know where it comes from. The better engineers are the ones that do more with less. That’s been proven time and time again. The cars that succeed are the ones that were built with less. And they got more out of them than the folks that had deep pockets. That’s the Porsche story. That’s the early Italian sports car stories where they didn’t have anything and they built from nothing.
So I think we’ve, we’ve gone away from that and it, it takes away from the racing in my opinion, because it’s like watching a video game, right? And we’ll talk about that in a minute too. [01:53:00] I want to talk about Rolex before we transition to some WRC news. I mentioned the, you know, balance of power a couple of times when we talked about the Corvette.
I thought that was, I hate to say, sort of pathetic. Like, I really felt bad for Team Corvette. I don’t know why they were trying to like, or they were forced to step down to meet the new rules or whatever. Maybe the Corvette’s in this weird gray area where it should really be like a GT2 car, which doesn’t exist.
You know, this kind of thing. I, I just felt like, meh, it didn’t really help. The, the field was bigger than it’s been in a number of years, but. I also wasn’t impressed. I’m not happy with this LMP3 thing. It just feels like there’s more of the same cars on the track and there’s no variation and on the theme, you know, stuff like that.
What’d you think, Brad, at least of the lineup and stuff like that for Rolex?
Crew Chief Brad: Uh, I thought the top level was fun. It was fun to watch. The VPI class was a lot of fun. I can do that. The Acuras and the Cadillacs go at each other. It was cool. Corvette, I don’t know. Cause I don’t know if I fully understand the rule changes with that, but it [01:54:00] was my understanding that both the GTD and the GTT pro cars are basically classed the same now, the only difference is the driver’s skill, really, if that’s the case, I mean, again, with the balance of power or balance of performance or whatever, whatever it is, I haven’t looked too much into it and how it affected Corvette, this race.
I don’t know. Overall, I thought the race was fun to watch the bits that I did. Watch the 9 11’s was insane.
Crew Chief Eric: The front of the pack end of the race wasn’t nearly as important as the battle between those two 9 11’s. That was legitimately awesome racing. Those last 18 minutes where they’re battling back and forth, bump drafting, pushing each other and inevitably It ends in a cloud of smoke and disappointment.
It was, it was epic. The front of the pack, I could have cared less what was happening between Acura and Cadillac and all that stuff. Cause that race was already over by the time the second place car had dropped back a couple seconds. I was like, they’re never going to make that up. And I’m glad the cameras turned their attention to the GTLM cars because that was, that was exciting.
I waited [01:55:00] 23 hours and 40 minutes for that 20 minutes of action. And it’s a shame that it had to come at that point. And there was cool stuff that happened in the middle of the night. But I think the thing that made the race a complete drag was these extended yellows and I watched most of the race. I only got a couple hours of sleep.
And so I was, I was tuned in for a lot of it. It was incredible. I think we were over 20 yellows in the whole race, but they like went on for. Ever. And it was just like, what are we still doing under yellow that we come out of yellow and then we go into another yellow and it’s like, Oh, we crud. And it just, there were parts of the race that were just painful, but that that ending definitely made up the difference.
You know, going back to the balance of power, I felt bad for Corvette, and this isn’t a slight against Lexus. But when the Lexuses are walking away from the Corvettes, I was like, something’s wrong. Either cars are busted or whatever. And, and again, it’s not a slight against Lexus, but it’s just that Lexus has been riding that same car for what feels like forever.
And I’m sure [01:56:00] they’ve made advances and whatever, but I don’t wanna say that the Lexus isn’t competitive, but it’s not winning GTLM. The front runners have been Porsche and Corvette and BMW and things like that. They’re always just sort of there. But to see the Corvette just getting walked. By the Lexus, which is tried and true, you know, it’s kind of always there.
Like I said, it just, it hurt a little bit to see that. And I, I don’t know what’s going on. Hopefully they’ll figure that all out. A couple of things that I thought were interesting, the safety car was that color was heinous. I mean, I, I know that it has to stand out, but that BMW did not look good in whatever that yellow was.
Please repaint that car, rewrap it. Oh God, that was awful. The other thing was I had a hard time differentiating between the new Benz’s and the nine 11s because from behind, they look a lot alike. The rear end of the nine 11 is so big now. I don’t know. So that was hard to like tell them apart when they were in traffic.
But the other thing. That I thought was interesting was John Pearson. Apparently he’s 15 year old. He next year, he’s going to be [01:57:00] the youngest driver in Rolex history. So I thought that was pretty cool. They did a spot with him for a couple of minutes, kind of interviewed him. I’d love to know what his backstory is at 15, you know, going to be 16 years old next year.
How do you go from high school to driving? Well, yes. Okay. The answer is obvious, but I still think it’s pretty cool. I’d love to know what that backstory is. So 23 is going to be an awesome year. There’s a lot of new cars coming. I’m really curious to see how Rolex shapes up. If the teams that are going to go to Le Mans are going to use Rolex as their test race, because it’s going to make for a really exciting Rolex next year.
I’m cautiously optimistic. But I think it’s time we switch to some WRC news. What do you got, Tanya?
Executive Producer Tania: Isabelle Galmiche, a French co driver in Raleigh, she teamed up recently with Sebastian Loeb and has become, I guess, maybe the second woman, or at least the first woman in the last 25 years to, [01:58:00] uh, Co drive at Monte Carlo rally and be in the winning car.
So congrats to her. And she’s got an interesting story that this is not her full time gig. She kind of moonlights as a co driver and she has for, for many years. It’s the first time, uh, competing with in the right seat with Sebastian Loeb. So good for her, her, her day job is a math teacher.
That’s awesome.
Executive Producer Tania: And she’s very humble sounding. She doesn’t want to have a lot of us and must about any of this or bring the trophy in the school to show anybody. Yes. Kind of wants to go about her day.
Crew Chief Eric: And, you know, a lot of people that may not be intimate with how WRC works and rally, you know, there’s two people in the car, they’re going flat out, you know, crazy on these mountain roads and the navigator’s job is super important.
It’s actually even more difficult than the driving in the sense that they keep the pace and the rhythm of the run itself of the past, right. They’re giving out instructions to the driver in advance because there’s On many occasions, [01:59:00] the driver only sees the run one time, and it’s usually in a passenger vehicle at lower speed.
And what they’re doing on that one run is taking notes about the course, about the elevations, the camber, where there’s holes, where you need to turn in, where to watch out, what’s on the exit of the corner. And those hieroglyphs, those instructions that they write are super important. So very complex type of shorthand that they use.
And they need to be able to obviously remember that, but also come to an agreement with their driver on what the turn is, what they’re going to do. So she’s got a really difficult job working with any of the drivers, but even a world champion like Sebastian Loeb. I mean, it’s an honor and a privilege, but also it’s, it’s a challenge, right?
So. Obviously they don’t have a, uh, language barrier because they’re both French. I’m proud of her. I mean, it’s a tough job and being in the right seat and not really looking also where you’re going and just reading that book line after line and being on those difficult stages and crazy weather conditions and all that.
It’s a tough [02:00:00] job. I don’t think I could stump. I don’t think I have the stomach for it, honestly, because I probably get sick, you know, just trying to do that. In the passenger seat, but to your point about the last time it was done, and I might be wrong about my WRC knowledge, but I think it goes almost as far back as Michel Mouton and Fabrizio Pons as winning female co driver navigator at Monte Carlo.
It might be that far back, which is 35 plus years.
Executive Producer Tania: Instead it was Fabrizia Pons with Piero Liatti in 1997.
Crew Chief Eric: So after she left Michelle, yeah, yeah, okay. But it was Fabrizia then, still the same navigator as it was for Michelle Mouton. So there you go. I mean, she’s famous as, you know, one of the early female rally navigators.
So that’s awesome. It’s good to see that. And we want to promote that. And I know she doesn’t want the glory, but you know, I’m proud of her. That’s awesome. It’s a tough job. It’s a thankless job. That’s for sure. So a little bit of news from the e sports world, right, Brad?
Crew Chief Brad: Yeah, I guess if you’re a PlayStation person, which I’m not, but [02:01:00] GT7, is coming out.
It is going to be released on March 4th of this year. It brings with it 400 cars at 34 different locations with 90 different layouts. It’s going to be available on both the PS4 and the PS5. And yeah, if you play Gran Turismo for some reason over Forza, then, you know, this is your bag. I’m just curious,
Crew Chief Eric: how long have they been waiting for this new version of Gran Turismo to come out?
Crew Chief Brad: I mean, the last Gran Turismo I saw was Gran Turismo Sport. Which that one was, I think it was all supposed to be like multiplayer online racing based and not much of like a campaign or anything like you get with all the other forces and everything. I don’t know. Apparently this one,
Executive Producer Tania: they’ve they’re going back to the heyday of grand Turismo, which I guess would be like what grand Turismo three,
Crew Chief Brad: two,
Executive Producer Tania: two or three.
So I think they’ve kind of gone back to that campaign mode style and added back in a lot of the. Other, I guess, side features that that had, which were kind of the [02:02:00] nifty, silly things that was Gran Turismo, like buying the used cars. And I thought that was the coolest thing. Doing mods and like all that kind of stuff.
So they’re bringing that back in.
Crew Chief Eric: I like the wheel swapping was my favorite. You could get wheels on other cars. Washing
Executive Producer Tania: your car.
Crew Chief Eric: Oh, yeah, you could wash your car. That
Crew Chief Brad: was pretty cool. One of my biggest gripes with the most recent Gran Turismo was the track selection, I guess because Forza has so many tracks under contract, and our licensing, you know, they own licensing to all these different tracks.
As HPDE people, we drive a whole bunch of different tracks around the country and everything, and you couldn’t drive some of those in, Gran Turismo because they just didn’t have them. I don’t know that there were any tracks that I was actually interested in, in Gran Turismo.
Executive Producer Tania: I think that’s still the case in seven.
Cause I had pulled up a track list and they really don’t, it seemed like a high percentage of what seemed like made up tracks versus actual. Tracks forces seems to have a lot more actual tracks
Crew Chief Brad: when I was a kid. I used [02:03:00] to love driving those made up tracks. Cause I didn’t know I’ve actually been on, or this doesn’t interest me at all.
Crew Chief Eric: Oh, you don’t, you don’t want to drive autumn Valley or whatever that is. You know, Forza has Naples Valley, right? So it’s all good.
So let’s switch over to our HPD junkie trackside report. I got a note from Dave Peters the other day, you know, they are still backfilling tons of events into the system for the 2022 season. Feels like a lot of people are making up for lost time. He told me the other day that at Thunder Hill alone, they just entered 75 events and apparently there’s like 80 more for that track itself this year.
And I’m like, they must be doing something. Every day of the week out there in California. So he’s keeping up the date on that kind of stuff. So there’s a lot more information being pushed to the website right now. So if you want to know what’s going on in February and March, hop over to hpdjunkie. com and search by track to make it much easier to say, Hey, what’s going on in my area.
And you can actually see what’s going on from now until [02:04:00] the end of the year. And obviously it continues to prune itself, expand and contract and all that. But I do want Want to announce on behalf of our sponsors are very hooked on driving. As a reminder, they are going to be at VIR at the beginning of March on March 3rd and March 4th.
This is like one of the earliest events in the DMV on the schedule right now. There might be something a little bit earlier, but that’s pretty early for this area to have a track event followed very soon after by New Jersey motor sports park, they’re going to be at Thunderbolt on April 9th and 10th.
And then. Two weeks after that, they’ll be at Watkins Glen for a three day spring fling from April 29th, 30th, and May 1st. So they’re doing their fall event in the spring as well now, three days at Watkins Glen. And then it goes from there, right? They’re at Pocono, A couple more times or Lime Rock and Summit Point, you know, Summit Point is back on the schedule.
They’re at Shenandoah for June 18th and 19th and things like that. And I also want to give a shout [02:05:00] out to Mike and Mona. They’re actually going to be on the show next week, kicking off season three. So you get to hear all about HOD and what their program is like. And some really cool behind the scenes content where Mike actually turns the tables on me and interviews me.
during that behind the scenes Patreon minisode. So be sure to check that out next week when it hits our main server. You know, I mentioned this is the end of season two. This is the last episode of season two. And I just wanted to kind of just do a quick retrospective for the folks that Maybe listening to the show for the first time, you know, this is going to be the first episode at the top of the list.
If you want to go back and want to know when season two started, look for the vet motor sports episode with Peter Klein, right? Where we talk about their program to get disabled veterans back into the motor sports world and all these kinds of programs that they have and how they facilitate that and whatnot.
Crew Chief Brad: We also had, what should I buy? Ugly cars, parts one and two and nineties [02:06:00] cars.
Crew Chief Eric: We kicked off an entire crossover month in the middle of the summer. We had Brian from take two podcasts on, we talked about a bunch of car related movies and shows and things like that. We had Steven Izzy from everything I learned from movies on twice this season.
We had a lot of fun with them. We look forward to doing more projects in the future. John Warner the fourth author of the little Anton series and noted Portia historian. He also has a podcast. We did a crossover with him and a shout out to Carolyn Ford and Mark Sonnell from the tech transforms podcast, where we talked about the intersection of it and the racing world as a crossover episode as well.
Crew Chief Brad: We also had a ton of interviews, awesome interviews with Rob Holland, Bobby Parks, David Middleton, Chris Bright from CPX, and our favorite, you got a guy, Paul Willemoski.
Crew Chief Eric: Yeah, we did a ton of technical episodes too. We had Andrew Rains on from Apex Pro. We interviewed the folks over at Liqui Moly. We talked to Blackstone Joe over at Blackstone Labs, which is also a crossover episode.
We interviewed James Clay, both for Powerflex and for Bimber World. And we [02:07:00] talked to Sal Finelli over at Porsche Diesel USA.
Crew Chief Brad: And to prove that we do more than just take laps and do HPD, we talked off roading, we talked drag racing, we talked lunar racing. I mean, who talks lunar racing these days? We do.
That’s who
Crew Chief Eric: we also celebrated gingerman raceways 25th anniversary. And we did a retrospective with summit point, looking back over their 50 year history, dove into both of the backgrounds of those tracks and their evolutions and what the future looks like for those two facilities.
Crew Chief Brad: And there are 56 episodes to catch up on from season two alone, not counting all of the bonus and behind the scenes content.
If you sign up for Patreon,
Crew Chief Eric: you know, I can’t pick a best of articles for season two because there are 640 drive through articles that we have reviewed on this particular sub arc. Of the break, fix podcast. So there’s a lot to catch up on there. There are a lot of fun and don’t forget one of our favorite link to the drive through episodes has to be this [02:08:00] year’s.
We would be remiss retrospective where Tanya rants about all things Tesla.
Crew Chief Brad: And we would love to give some big shout outs to all our guests hosts during season two. David drew Andrews, David L Middleton, Donovan, Laura, Mark Shank, mountain man, Dan, and especially Tanya. And yeah, we have to shout out Tanya for helping us out.
Especially while I’ve been away.
Executive Producer Tania: And if you’ve missed out some of the winter episodes on the podcast, we celebrated our 100th episode with a crossover with our friend, Steven Izzy from everything I learned from movies where we reviewed the seventies cult classic Corvette summer. Andrew Bank and Mike Kuchavik from Havoc Performance told the tale of two vipers, and we cranked up the Wayback Machine by revisiting a Patreon minisode called Toro Toro, where we chat with Jason Kennedy from Auto Interests about their humble beginnings in the Ford Taurus Club.
Thank you to everyone that came on the show this month, and please look forward to more great episodes this spring, and don’t [02:09:00] forget, March officially kicks off Season 3! Can you believe it?
Crew Chief Eric: I don’t know. Can you believe it? So we do have some new Patreons for February. What do we got there, Brad? I’ve
Crew Chief Brad: got to give a big shout out to Todd, the saber toothed goat tiger, Lily, and he’s also the recipient of this year’s GTMer award.
So if you’re a Patreon member, you would have heard the GTM awards night that was recorded during Rolex. He would have heard his name. Uh, we also have a special thanks to our new sponsor, Mike Kuchavik of Havoc Performance.
Crew Chief Eric: That’s right. And remember folks, everything that we talked about on this episode and more is available on our website, gtmotorsports.
org. So be sure to check on the follow on article so you can dive into all the Florida man stories. Tesla technological advancements, or maybe that Ferrari SUV that we talked about. So that’s all available on our website. There’s links pretty much everywhere. And remember there’s bonus and behind the scenes contents on patreon.
com. So that’s patreon. com forward slash GT [02:10:00] Motorsports.
Crew Chief Brad: And we would be remiss if we didn’t shout out some anniversaries. This year is eight years with GTM. It’s Tanya and I, Eric, of course is a lifelong GTM er, but officially eight years as well. Uh, we also have some, some other OG original gangster GTM ers like Mountain Man Dan, uh, and Portia Al.
That’s it.
Crew Chief Eric: Well, we didn’t have a special guest host this month as we close out season two, but look forward to other returning guests in season three, some really cool stuff that we have planned some exciting new interviews, racers, and other ideas that we’re going to put together for season three. As we’ve mentioned before, if you have an interest on being on the show, don’t hesitate to reach out to us, call or text, email us, etc.
But if you’d like to be a guest host on the drive through, we always have a spot and you’re always welcome to come on and share your opinion, share your stories. We’d love to have you. So I guess I got a shout out to Brad. Thanks for being here, closing out 56 long episodes of season [02:11:00] two. And I’m looking forward to where season three takes us.
Well, thank you for appreciate
Crew Chief Brad: my spot. And I’d like taken also, it’s a big spot to fill my man. There’s big shoes. It’s a very big seat to fill, I must admit. Uh, and then also a shout out to the executive producer, co host, uh, and owner of the podcast, whether she likes it or not, Tanya,
Executive Producer Tania: whether she knows it or not.
Crew Chief Eric: The drive thru wouldn’t be the drive thru without time. That’s for sure. We’d all be living in Florida
Crew Chief Brad: and GTM without you, none of this would be,
Crew Chief Eric: that’s right. Well, until next season, I guess this is us signing off. Thanks for being aboard for all of season two.
Executive Producer Tania: Watch out for that Sunshine
Crew Chief Eric: and we’re out bus
cars in back of us all just waiting to order. There’s some [02:12:00] idiot in a Volvo with us. Brights on behind me. I lean out the window and scream, Hey, watch. Trying to do blind me. My wife says, maybe we.
Crew Chief Brad: If you like what you’ve heard and want to learn more about GTM, be sure to check us out on www. gtmotorsports. org. You can also find us on Instagram at GrandTouringMotorsports. Also, if you want to get involved or have suggestions for future shows, You can call or text us at 202 630 1770, or send us an email at crewchief at gtmotorsports.
org. We’d love to hear from you.
Crew Chief Eric: Hey everybody, Crew Chief Eric here. We really hope you enjoyed this episode of Break Fix, and we wanted to remind you that GTM remains a no annual fees organization. And our goal is to continue to bring you quality episodes like this one at no charge. As a loyal listener, please consider subscribing to our Patreon for bonus [02:13:00] and behind the scenes content, extra goodies, and GTM swag.
For as little as 2. 50 a month, you can keep our developers, writers, editors, casters, and other volunteers fed on their strict diet of fig newtons, gummy bears, and Consider signing up for Patreon today at www. patreon. com forward slash GT Motorsports. And remember, without fans, supporters, and members like you, none of this would be possible.
Highlights
Skip ahead if you must… Here’s the highlights from this episode you might be most interested in and their corresponding time stamps.
- 00:00 Introduction and Sponsors
- 00:46 Season Two Finale Announcement
- 01:33 Manual Transmission Cars in 2022
- 06:17 Road & Track’s 2022 Performance Car of the Year
- 09:45 Ferrari’s New SUV and Innovations
- 19:32 Porsche, Audi, and VW Updates
- 30:00 BMW’s Design Changes and New Models
- 33:36 Ford and GM News
- 45:01 Chevy Spark Discontinued: Last Chance to Buy
- 49:07 Toyota’s GT3 Concept: A Mercedes Lookalike?
- 51:02 Hyundai Ioniq 5: The Best Affordable Electric Car?
- 52:11 The EV vs. Petrol Debate: Breaking Down the Numbers
- 57:31 Subaru’s WRX Station Wagon: Only in Australia
- 58:02 The $111,000 Acura Integra: Is It Worth It?
- 01:00:37 Toyota’s Autonomous Drifting Supra
- 01:03:16 Hyundai and Kia Recall: Fire Hazard Warning
- 01:04:29 JDM Cars Spotted in the Wild
- 01:07:33 Lost and Found: Rare and Unique Cars for Sale
- 01:12:51 New EVs and Concepts: From Alpha to Rivian
- 01:24:03 Tesla’s Cybertruck and Roadster Delays
- 01:25:35 Tesla Karaoke: The Turn On Tesla Mic Feature
- 01:26:57 Space Roadster: Four Years in Orbit
- 01:28:18 Tesla’s Space Adventure
- 01:29:06 Jeep Grand Cherokee Design Debate
- 01:31:03 Flying Cars: The Future of Transportation?
- 01:33:58 Lego’s Speed Champions Lineup
- 01:37:16 Florida Man Chronicles
- 01:47:15 NASCAR and Formula One Updates
- 01:53:00 Rolex 24 at Daytona Recap
- 01:57:45 WRC and Esports Highlights
- 02:03:15 HPDE Events and Season 2 Retrospective

Would you like fries with that?
- Florida Man ... stops to charge ankle monitor while committing a crime, faces grand theft auto
- Florida Man ... jumps from stolen car that train sends into a house
- Florida People's ... rejected vanity plates are exactly what you'd expect
- Canadian Woman ... Takes Selfie on Top of Sinking Car as People Rush to Rescue Her
- British Farmer ... cleared by jury after flipping car with tractor
There's more to this story!
Be sure to check out the behind the scenes for this episode, filled with extras, bloopers, and other great moments not found in the final version. Become a Break/Fix VIP today by joining our Patreon.
All of our BEHIND THE SCENES (BTS) Break/Fix episodes are raw and unedited, and expressly shared with the permission and consent of our guests.



































